详情
摘要
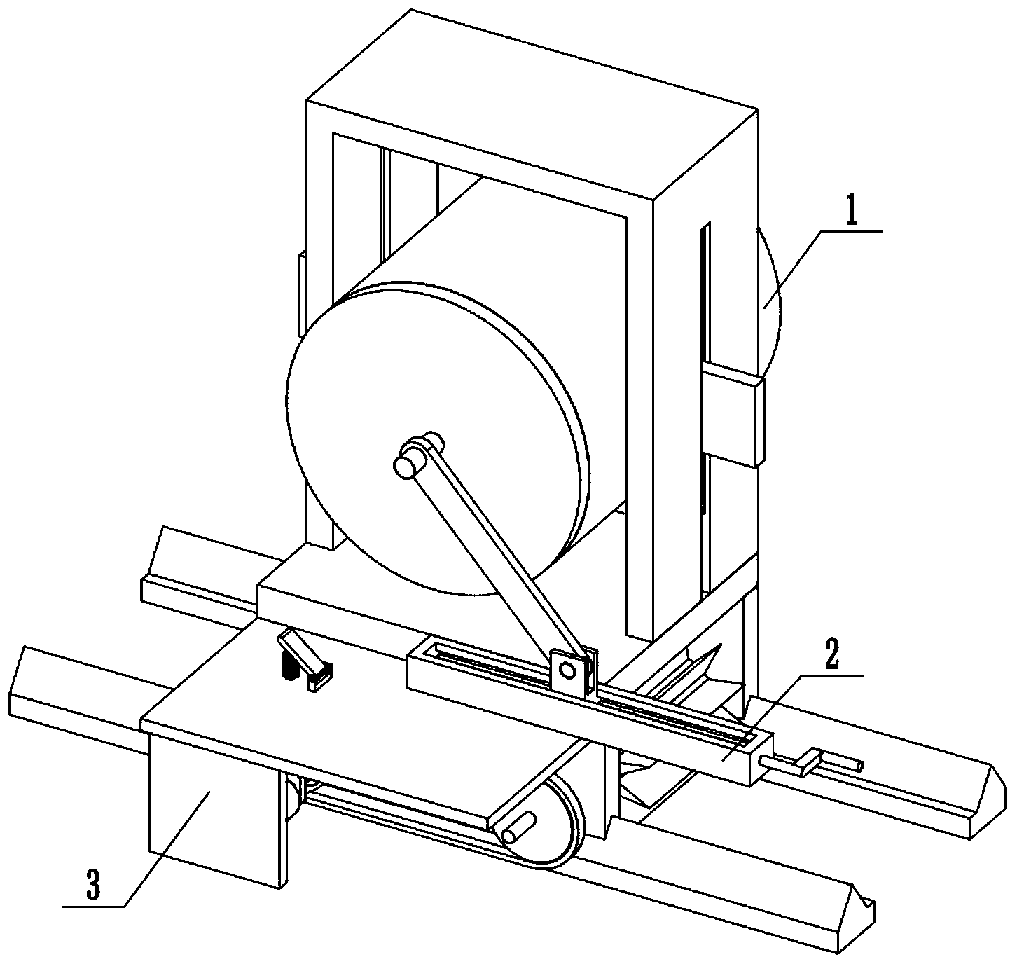
本发明涉及一种煤矿开采领域,更具体的说是一种煤矿开采成块设备,包括采块组合体、升降组合体和行走组合体,在煤矿开采领域,传统壁式采煤开采时会产生大量煤的碎渣,不方便运输与清理,易产生浪费,本发明解决了上述问题,设备沿轨道开始采煤,每当开采铲铲入煤层内,开采铲会旋转22.5°将煤成块从煤层上剥落,不会产生碎渣,摇动摇杆,采块组合体的开采的高度发生变化,这样就可以调整开采的高度,踩下踏板,星型行走轮开始转动,带动设备前进,松开踏板设备停止,采煤会产生冲击,星型行走轮设于两个滑轨之间并被限位,产生的冲击不会使设备侧翻。
权利要求
1.一种煤矿开采成块设备,包括采块组合体(1)、升降组合体(2)和行走组合体(3),其特征在于:所述采块组合体(1)与升降组合体(2)相连接,升降组合体(2)与行走组合体(3)相连接。
2.根据权利要求1所述的一种煤矿开采成块设备,其特征在于:所述采块组合体(1)包括电机Ⅰ(1-1)、电机Ⅰ轴(1-2)、圆盘Ⅰ(1-3)、圆盘Ⅰ拨杆(1-4)、连杆Ⅰ(1-5)、电机Ⅰ固定板(1-6)、连杆Ⅱ(1-7)、支耳(1-8)、推板(1-9)、开采铲(1-10)、开采铲滑板(1-11)、传动室Ⅰ(1-12)、伸缩杆(1-13)、伸缩杆滑槽(1-14)、传动室Ⅱ(1-15)、传动室底板(1-16)、锥齿轮Ⅰ(1-17)、锥齿轮Ⅱ(1-18)、锥齿轮Ⅱ轴(1-19)、圆盘Ⅱ(1-20)、圆盘Ⅱ拨杆(1-21)、带槽拨盘(1-22)、拨盘轴(1-23)、支撑环(1-24)、采块外壳(1-25)、采块外壳滑翼(1-26)和采块底板(1-27),电机Ⅰ(1-1)与电机Ⅰ轴(1-2)相连接,电机Ⅰ轴(1-2)与圆盘Ⅰ(1-3)相连接,圆盘Ⅰ(1-3)与圆盘Ⅰ拨杆(1-4)相连接,圆盘Ⅰ拨杆(1-4)与连杆Ⅰ(1-5)转动连接,连杆Ⅰ(1-5)与连杆Ⅱ(1-7)铰接,连杆Ⅱ(1-7)与支耳(1-8)铰接,支耳(1-8)与推板(1-9)相连接,推板(1-9)与开采铲(1-10)相连接,推板(1-9)与采块外壳(1-25)滑动连接,开采铲(1-10)与开采铲滑板(1-11)滑动连接,开采铲滑板(1-11)与采块外壳(1-25)转动连接,电机Ⅰ(1-1)与电机Ⅰ固定板(1-6)相连接,电机Ⅰ固定板(1-6)与传动室Ⅱ(1-15)相连接,推板(1-9)与传动室Ⅰ(1-12)相连接,传动室Ⅰ(1-12)与伸缩杆(1-13)相连接,伸缩杆(1-13)与伸缩杆滑槽(1-14)滑动连接,伸缩杆滑槽(1-14)位于传动室Ⅱ(1-15)内,传动室Ⅱ(1-15)与传动室底板(1-16)相连接,电机Ⅰ轴(1-2)与锥齿轮Ⅰ(1-17)相连接,锥齿轮Ⅰ(1-17)与锥齿轮Ⅱ(1-18)啮合连接,锥齿轮Ⅱ(1-18)与锥齿轮Ⅱ轴(1-19)相连接,锥齿轮Ⅱ轴(1-19)与传动室底板(1-16)转动连接,锥齿轮Ⅱ轴(1-19)与圆盘Ⅱ(1-20)相连接,圆盘Ⅱ(1-20)与圆盘Ⅱ拨杆(1-21)相连接,带槽拨盘(1-22)与拨盘轴(1-23)相连接,拨盘轴(1-23)与传动室底板(1-16)相连接,支撑环(1-24)与传动室Ⅱ(1-15)相连接,支撑环(1-24)与采块外壳(1-25)转动连接,采块外壳(1-25)与采块外壳滑翼(1-26)相连接,采块外壳(1-25)与采块底板(1-27)相连接,锥齿轮Ⅰ(1-17)、锥齿轮Ⅱ(1-18)传动比为1:1。
3.根据权利要求1所述的一种煤矿开采成块设备,其特征在于:所述升降组合体(2)包括滑翼滑槽(2-1)、升降滑轨(2-2)、滑轨底板(2-3)、连接轴(2-4)、升降连杆(2-5)、升降支耳(2-6)、螺纹滑块(2-7)、摇柄(2-8)、螺纹轴(2-9)、滑块滑轨(2-10)、滑块滑槽(2-11)和操作底板(2-12),采块外壳滑翼(1-26)与滑翼滑槽(2-1)滑动连接,滑翼滑槽(2-1)位于升降滑轨(2-2)上,升降滑轨(2-2)与滑轨底板(2-3)相连接,采块底板(1-27)与连接轴(2-4)相连接,连接轴(2-4)与升降连杆(2-5)转动连接,升降连杆(2-5)与升降支耳(2-6)铰接,升降支耳(2-6)与螺纹滑块(2-7)相连接,螺纹滑块(2-7)与螺纹轴(2-9)螺纹连接,螺纹轴(2-9)与摇柄(2-8)相连接,螺纹轴(2-9)与滑块滑轨(2-10)转动连接,螺纹滑块(2-7)与滑块滑槽(2-11)滑动连接,滑块滑槽(2-11)位于滑块滑轨(2-10)内,滑块滑轨(2-10)与操作底板(2-12)相连接。
4.根据权利要求1所述的一种煤矿开采成块设备,其特征在于:所述行走组合体(3)包括滑壁(3-1)、滑轨(3-2)、星型行走轮(3-3)、电机Ⅱ支架(3-4)、电机Ⅱ(3-5)、电机Ⅱ轴(3-6)、电机Ⅱ轴支架(3-7)、齿轮Ⅰ(3-8)、齿轮Ⅱ(3-9)、行走轮轴Ⅰ(3-10)、链轮Ⅰ(3-11)、链条(3-12)、链轮Ⅱ(3-13)、行走轮轴Ⅱ(3-14)、踏板(3-15)、踏板轴(3-16)、踏板轴支架(3-17)、踏板限位杆(3-18)、踏板槽(3-19)、球头滑柱(3-20)、弹簧(3-21)、齿轮支架(3-22)、离合齿轮轴(3-23)和离合齿轮(3-24),滑轨底板(2-3)与两个滑壁(3-1)相连接,两个滑壁(3-1)分别与两个滑轨(3-2)滑动连接,星型行走轮(3-3)位于两个滑轨(3-2)之间并与两个滑轨(3-2)相接触,操作底板(2-12)与电机Ⅱ支架(3-4)相连接,电机Ⅱ支架(3-4)与电机Ⅱ(3-5)相连接,电机Ⅱ(3-5)与电机Ⅱ轴(3-6)相连接,电机Ⅱ轴(3-6)与电机Ⅱ轴支架(3-7)转动连接,电机Ⅱ轴支架(3-7)与操作底板(2-12)相连接,电机Ⅱ轴(3-6)与齿轮Ⅰ(3-8)相连接,齿轮Ⅱ(3-9)与行走轮轴Ⅰ(3-10)相连接,行走轮轴Ⅰ(3-10)与链轮Ⅰ(3-11)相连接,链轮Ⅰ(3-11)、链条(3-12)、链轮Ⅱ(3-13)链轮链条连接,链轮Ⅱ(3-13)与行走轮轴Ⅱ(3-14)相连接,行走轮轴Ⅰ(3-10)、行走轮轴Ⅱ(3-14)均与星型行走轮(3-3)相连接,星型行走轮(3-3)与地面相接触,踏板(3-15)与踏板轴(3-16)转动连接,踏板轴(3-16)与踏板轴支架(3-17)转动连接,踏板轴支架(3-17)与操作底板(2-12)相连接,踏板轴支架(3-17)与踏板限位杆(3-18)相连接,踏板槽(3-19)位于踏板内,球头滑柱(3-20)与踏板槽(3-19)滑动连接,弹簧(3-21)套接在球头滑柱(3-20)上,弹簧(3-21)两端分别与球头滑柱(3-20)、操作底板(2-12)相连接,弹簧(3-21)处于常态,球头滑柱(3-20)与齿轮支架(3-22)相连接,齿轮支架(3-22)与离合齿轮轴(3-23)转动连接,离合齿轮轴(3-23)与离合齿轮(3-24)转动连接。
说明书
一种煤矿开采成块设备
技术领域
[0001]本发明涉及一种煤矿开采领域,更具体的说是一种煤矿开采成块设备。
背景技术
[0002]在煤矿开采领域,传统壁式采煤开采时会产生大量煤的碎渣,不方便运输与清理,易产生浪费,本发明解决了上述问题。
发明内容
[0003]本发明的目的通过以下技术方案来实现:
[0004]一种煤矿开采成块设备,包括采块组合体、升降组合体和行走组合体,所述的采块组合体与升降组合体相连接,升降组合体与行走组合体相连接。
[0005]作为本技术方案的进一步优化,本发明一种煤矿开采成块设备,所述的采块组合体包括电机Ⅰ、电机Ⅰ轴、圆盘Ⅰ、圆盘Ⅰ拨杆、连杆Ⅰ、电机Ⅰ固定板、连杆Ⅱ、支耳、推板、开采铲、开采铲滑板、传动室Ⅰ、伸缩杆、伸缩杆滑槽、传动室Ⅱ、传动室底板、锥齿轮Ⅰ、锥齿轮Ⅱ、锥齿轮Ⅱ轴、圆盘Ⅱ、圆盘Ⅱ拨杆、带槽拨盘、拨盘轴、支撑环、采块外壳、采块外壳滑翼和采块底板,电机Ⅰ与电机Ⅰ轴相连接,电机Ⅰ轴与圆盘Ⅰ相连接,圆盘Ⅰ与圆盘Ⅰ拨杆相连接,圆盘Ⅰ拨杆与连杆Ⅰ转动连接,连杆Ⅰ与连杆Ⅱ铰接,连杆Ⅱ与支耳铰接,支耳与推板相连接,推板与开采铲相连接,推板与采块外壳滑动连接,开采铲与开采铲滑板滑动连接,开采铲滑板与采块外壳转动连接,电机Ⅰ与电机Ⅰ固定板相连接,电机Ⅰ固定板与传动室Ⅱ相连接,推板与传动室Ⅰ相连接,传动室Ⅰ与伸缩杆相连接,伸缩杆与伸缩杆滑槽滑动连接,伸缩杆滑槽位于传动室Ⅱ内,传动室Ⅱ与传动室底板相连接,电机Ⅰ轴与锥齿轮Ⅰ相连接,锥齿轮Ⅰ与锥齿轮Ⅱ啮合连接,锥齿轮Ⅱ与锥齿轮Ⅱ轴相连接,锥齿轮Ⅱ轴与传动室底板转动连接,锥齿轮Ⅱ轴与圆盘Ⅱ相连接,圆盘Ⅱ与圆盘Ⅱ拨杆相连接,带槽拨盘与拨盘轴相连接,拨盘轴与传动室底板相连接,支撑环与传动室Ⅱ相连接,支撑环与采块外壳转动连接,采块外壳与采块外壳滑翼相连接,采块外壳与采块底板相连接,锥齿轮Ⅰ、锥齿轮Ⅱ传动比为1:1。
[0006]作为本技术方案的进一步优化,本发明一种煤矿开采成块设备,所述的升降组合体包括滑翼滑槽、升降滑轨、滑轨底板、连接轴、升降连杆、升降支耳、螺纹滑块、摇柄、螺纹轴、滑块滑轨、滑块滑槽和操作底板,采块外壳滑翼与滑翼滑槽滑动连接,滑翼滑槽位于升降滑轨上,升降滑轨与滑轨底板相连接,采块底板与连接轴相连接,连接轴与升降连杆转动连接,升降连杆与升降支耳铰接,升降支耳与螺纹滑块相连接,螺纹滑块与螺纹轴螺纹连接,螺纹轴与摇柄相连接,螺纹轴与滑块滑轨转动连接,螺纹滑块与滑块滑槽滑动连接,滑块滑槽位于滑块滑轨内,滑块滑轨与操作底板相连接。
[0007]作为本技术方案的进一步优化,本发明一种煤矿开采成块设备,所述的行走组合体包括滑壁、滑轨、星型行走轮、电机Ⅱ支架、电机Ⅱ、电机Ⅱ轴、电机Ⅱ轴支架、齿轮Ⅰ、齿轮Ⅱ、行走轮轴Ⅰ、链轮Ⅰ、链条、链轮Ⅱ、行走轮轴Ⅱ、踏板、踏板轴、踏板轴支架、踏板限位杆、踏板槽、球头滑柱、弹簧、齿轮支架、离合齿轮轴和离合齿轮,滑轨底板与两个滑壁相连接,两个滑壁分别与两个滑轨滑动连接,星型行走轮位于两个滑轨之间并与两个滑轨相接触,操作底板与电机Ⅱ支架相连接,电机Ⅱ支架与电机Ⅱ相连接,电机Ⅱ与电机Ⅱ轴相连接,电机Ⅱ轴与电机Ⅱ轴支架转动连接,电机Ⅱ轴支架与操作底板相连接,电机Ⅱ轴与齿轮Ⅰ相连接,齿轮Ⅱ与行走轮轴Ⅰ相连接,行走轮轴Ⅰ与链轮Ⅰ相连接,链轮Ⅰ、链条、链轮Ⅱ链轮链条连接,链轮Ⅱ与行走轮轴Ⅱ相连接,行走轮轴Ⅰ、行走轮轴Ⅱ均与星型行走轮相连接,星型行走轮与地面相接触,踏板与踏板轴转动连接,踏板轴与踏板轴支架转动连接,踏板轴支架与操作底板相连接,踏板轴支架与踏板限位杆相连接,踏板槽位于踏板内,球头滑柱与踏板槽滑动连接,弹簧套接在球头滑柱上,弹簧两端分别与球头滑柱、操作底板相连接,弹簧处于常态,球头滑柱与齿轮支架相连接,齿轮支架与离合齿轮轴转动连接,离合齿轮轴与离合齿轮转动连接。
[0008]本发明一种煤矿开采成块设备有益效果为:设备沿轨道开始采煤,每当开采铲铲入煤层内,开采铲会旋转22.5°将煤成块从煤层上剥落,不会产生碎渣,摇动摇杆,采块组合体的开采的高度发生变化,这样就可以调整开采的高度,踩下踏板,星型行走轮开始转动,带动设备前进,松开踏板设备停止,采煤会产生冲击,星型行走轮设于两个滑轨之间并被限位,产生的冲击不会使设备侧翻。

附图说明
[0009]下面结合附图和具体实施方法对本发明做进一步详细的说明。
[0010]图1是本发明的整体结构示意图;
[0011]图2是本发明的采块组合体1结构示意图一;
[0012]图3是本发明的采块组合体1结构示意图二;
[0013]图4是本发明的采块组合体1局部剖视图一;
[0014]图5是本发明的采块组合体1局部剖视图二;
[0015]图6是本发明的采块组合体1结构示意图三;
[0016]图7是本发明的采块组合体1结构示意图四;
[0017]图8是本发明的采块组合体1结构示意图五;
[0018]图9是本发明的采块组合体1结构示意图六;
[0019]图10是本发明的升降组合体2结构示意图;
[0020]图11是本发明的升降组合体2局部剖视图;
[0021]图12是本发明的行走组合体3结构示意图一;
[0022]图13是本发明的行走组合体3结构示意图二;
[0023]图14是本发明的行走组合体3结构示意图三;
[0024]图15是本发明的行走组合体3结构示意图四;
[0025]图16是本发明的行走组合体3结构示意图五。
[0026]图中:采块组合体1;电机Ⅰ1-1;电机Ⅰ轴1-2;圆盘Ⅰ1-3;圆盘Ⅰ拨杆1-4;连杆Ⅰ1-5;电机Ⅰ固定板1-6;连杆Ⅱ1-7;支耳1-8;推板1-9;开采铲1-10;开采铲滑板1-11;传动室Ⅰ1-12;伸缩杆1-13;伸缩杆滑槽1-14;传动室Ⅱ1-15;传动室底板1-16;锥齿轮Ⅰ1-17;锥齿轮Ⅱ1-18;锥齿轮Ⅱ轴1-19;圆盘Ⅱ1-20;圆盘Ⅱ拨杆1-21;带槽拨盘1-22;拨盘轴1-23;支撑环1-24;采块外壳1-25;采块外壳滑翼1-26;采块底板1-27;升降组合体2;滑翼滑槽2-1;升降滑轨2-2;滑轨底板2-3;连接轴2-4;升降连杆2-5;升降支耳2-6;螺纹滑块2-7;摇柄2-8;螺纹轴2-9;滑块滑轨2-10;滑块滑槽2-11;操作底板2-12;行走组合体3;滑壁3-1;滑轨3-2;星型行走轮3-3;电机Ⅱ支架3-4;电机Ⅱ3-5;电机Ⅱ轴3-6;电机Ⅱ轴支架3-7;齿轮Ⅰ3-8;齿轮Ⅱ3-9;行走轮轴Ⅰ3-10;链轮Ⅰ3-11;链条3-12;链轮Ⅱ3-13;行走轮轴Ⅱ3-14;踏板3-15;踏板轴3-16;踏板轴支架3-17;踏板限位杆3-18;踏板槽3-19;球头滑柱3-20;弹簧3-21;齿轮支架3-22;离合齿轮轴3-23;离合齿轮3-24。
具体实施方式
[0027]下面结合附图对本发明作进一步详细说明。
[0028]本装置中所述的固定连接是指通过焊接、螺纹固定等方式进行固定,结合不同的使用环境,使用不同的固定方式;所述的转动连接是指通过将轴承烘装在轴上,轴或轴孔上设置有弹簧挡圈槽,通过将弹性挡圈卡在挡圈槽内实现轴承的轴向固定,实现转动;所述的滑动连接是指通过滑块在滑槽或导轨内的滑动进行连接;所述的铰接是指通过在铰链、销轴和短轴等连接零件上进行活动的连接方式;所需密封处均是通过密封圈或O形圈实现密封。
[0029]具体实施方式一;
[0030]下面结合图1-16本实施方式,一种煤矿开采成块设备,包括采块组合体1、升降组合体2和行走组合体3,所述采块组合体1与升降组合体2相连接,升降组合体2与行走组合体3相连接。
[0031]具体实施方式二:
[0032]下面结合图1-16本实施方式,本实施方式对实施方式一作进一步说明,所述的采块组合体1包括电机Ⅰ1-1、电机Ⅰ轴1-2、圆盘Ⅰ1-3、圆盘Ⅰ拨杆1-4、连杆Ⅰ1-5、电机Ⅰ固定板1-6、连杆Ⅱ1-7、支耳1-8、推板1-9、开采铲1-10、开采铲滑板1-11、传动室Ⅰ1-12、伸缩杆1-13、伸缩杆滑槽1-14、传动室Ⅱ1-15、传动室底板1-16、锥齿轮Ⅰ1-17、锥齿轮Ⅱ1-18、锥齿轮Ⅱ轴1-19、圆盘Ⅱ1-20、圆盘Ⅱ拨杆1-21、带槽拨盘1-22、拨盘轴1-23、支撑环1-24、采块外壳1-25、采块外壳滑翼1-26和采块底板1-27,电机Ⅰ1-1与电机Ⅰ轴1-2相连接,电机Ⅰ轴1-2与圆盘Ⅰ1-3相连接,圆盘Ⅰ1-3与圆盘Ⅰ拨杆1-4相连接,圆盘Ⅰ拨杆1-4与连杆Ⅰ1-5转动连接,连杆Ⅰ1-5与连杆Ⅱ1-7铰接,连杆Ⅱ1-7与支耳1-8铰接,支耳1-8与推板1-9相连接,推板1-9与开采铲1-10相连接,推板1-9与采块外壳1-25滑动连接,开采铲1-10与开采铲滑板1-11滑动连接,开采铲滑板1-11与采块外壳1-25转动连接,电机Ⅰ1-1与电机Ⅰ固定板1-6相连接,电机Ⅰ固定板1-6与传动室Ⅱ1-15相连接,推板1-9与传动室Ⅰ1-12相连接,传动室Ⅰ1-12与伸缩杆1-13相连接,伸缩杆1-13与伸缩杆滑槽1-14滑动连接,伸缩杆滑槽1-14位于传动室Ⅱ1-15内,传动室Ⅱ1-15与传动室底板1-16相连接,电机Ⅰ轴1-2与锥齿轮Ⅰ1-17相连接,锥齿轮Ⅰ1-17与锥齿轮Ⅱ1-18啮合连接,锥齿轮Ⅱ1-18与锥齿轮Ⅱ轴1-19相连接,锥齿轮Ⅱ轴1-19与传动室底板1-16转动连接,锥齿轮Ⅱ轴1-19与圆盘Ⅱ1-20相连接,圆盘Ⅱ1-20与圆盘Ⅱ拨杆1-21相连接,带槽拨盘1-22与拨盘轴1-23相连接,拨盘轴1-23与传动室底板1-16相连接,支撑环1-24与传动室Ⅱ1-15相连接,支撑环1-24与采块外壳1-25转动连接,采块外壳1-25与采块外壳滑翼1-26相连接,采块外壳1-25与采块底板1-27相连接,锥齿轮Ⅰ1-17、锥齿轮Ⅱ1-18传动比为1:1,每当开采铲铲入煤层内,开采铲会旋转22.5°将煤成块从煤层上剥落,不会产生碎渣。
[0033]具体实施方式三:
[0034]下面结合图1-16本实施方式,本实施方式对实施方式一作进一步说明,所述的升降组合体2包括滑翼滑槽2-1、升降滑轨2-2、滑轨底板2-3、连接轴2-4、升降连杆2-5、升降支耳2-6、螺纹滑块2-7、摇柄2-8、螺纹轴2-9、滑块滑轨2-10、滑块滑槽2-11和操作底板2-12,采块外壳滑翼1-26与滑翼滑槽2-1滑动连接,滑翼滑槽2-1位于升降滑轨2-2上,升降滑轨2-2与滑轨底板2-3相连接,采块底板1-27与连接轴2-4相连接,连接轴2-4与升降连杆2-5转动连接,升降连杆2-5与升降支耳2-6铰接,升降支耳2-6与螺纹滑块2-7相连接,螺纹滑块2-7与螺纹轴2-9螺纹连接,螺纹轴2-9与摇柄2-8相连接,螺纹轴2-9与滑块滑轨2-10转动连接,螺纹滑块2-7与滑块滑槽2-11滑动连接,滑块滑槽2-11位于滑块滑轨2-10内,滑块滑轨2-10与操作底板2-12相连接,摇动摇杆,采块组合体的开采的高度发生变化,这样就可以调整开采的高度。
[0035]具体实施方式四:
[0036]下面结合图1-16本实施方式,本实施方式对实施方式一作进一步说明,所述的行走组合体3包括滑壁3-1、滑轨3-2、星型行走轮3-3、电机Ⅱ支架3-4、电机Ⅱ3-5、电机Ⅱ轴3-6、电机Ⅱ轴支架3-7、齿轮Ⅰ3-8、齿轮Ⅱ3-9、行走轮轴Ⅰ3-10、链轮Ⅰ3-11、链条3-12、链轮Ⅱ3-13、行走轮轴Ⅱ3-14、踏板3-15、踏板轴3-16、踏板轴支架3-17、踏板限位杆3-18、踏板槽3-19、球头滑柱3-20、弹簧3-21、齿轮支架3-22、离合齿轮轴3-23和离合齿轮3-24,滑轨底板2-3与两个滑壁3-1相连接,两个滑壁3-1分别与两个滑轨3-2滑动连接,星型行走轮3-3位于两个滑轨3-2之间并与两个滑轨3-2相接触,操作底板2-12与电机Ⅱ支架3-4相连接,电机Ⅱ支架3-4与电机Ⅱ3-5相连接,电机Ⅱ3-5与电机Ⅱ轴3-6相连接,电机Ⅱ轴3-6与电机Ⅱ轴支架3-7转动连接,电机Ⅱ轴支架3-7与操作底板2-12相连接,电机Ⅱ轴3-6与齿轮Ⅰ3-8相连接,齿轮Ⅱ3-9与行走轮轴Ⅰ3-10相连接,行走轮轴Ⅰ3-10与链轮Ⅰ3-11相连接,链轮Ⅰ3-11、链条3-12、链轮Ⅱ3-13链轮链条连接,链轮Ⅱ3-13与行走轮轴Ⅱ3-14相连接,行走轮轴Ⅰ3-10、行走轮轴Ⅱ3-14均与星型行走轮3-3相连接,星型行走轮3-3与地面相接触,踏板3-15与踏板轴3-16转动连接,踏板轴3-16与踏板轴支架3-17转动连接,踏板轴支架3-17与操作底板2-12相连接,踏板轴支架3-17与踏板限位杆3-18相连接,踏板槽3-19位于踏板内,球头滑柱3-20与踏板槽3-19滑动连接,弹簧3-21套接在球头滑柱3-20上,弹簧3-21两端分别与球头滑柱3-20、操作底板2-12相连接,弹簧3-21处于常态,球头滑柱3-20与齿轮支架3-22相连接,齿轮支架3-22与离合齿轮轴3-23转动连接,离合齿轮轴3-23与离合齿轮3-24转动连接,踩下踏板,星型行走轮开始转动,带动设备前进,松开踏板设备停止,采煤会产生冲击,星型行走轮设于两个滑轨之间并被限位,产生的冲击不会使设备侧翻。
[0037]本发明的一种煤矿开采成块设备,其工作原理为:本发明基于壁式采煤法设计,工作前将滑轨3-2设备铺设于矿道,将设备置于滑轨3-2上,将星型行走轮3-3置于两滑轨3-2间,启动电机Ⅱ3-5,踩下踏板3-15,踏板3-15绕踏板轴3-16旋转,踏板3-15通过踏板槽3-19带动球头滑柱3-20在操作底板2-12中向下滑动,弹簧3-21压缩,球头滑柱3-20在踏板槽3-19中滑动,球头滑柱3-20带动齿轮支架3-22向下运动,齿轮支架3-22通过离合齿轮轴3-23带动离合齿轮3-24向下运动,离合齿轮3-24与齿轮Ⅰ3-8、齿轮Ⅱ3-9啮合,电机Ⅱ3-5带动电机Ⅱ轴3-6转动,电机Ⅱ轴3-6带动齿轮Ⅰ3-8转动,齿轮Ⅰ3-8带动离合齿轮3-24转动,离合齿轮3-24带动齿轮Ⅱ3-9转动,齿轮Ⅱ3-9带动行走轮轴Ⅰ3-10转动,行走轮轴Ⅰ3-10带动链轮Ⅰ3-11转动,链轮Ⅰ3-11通过链条3-12带动链轮Ⅱ3-13转动,链轮Ⅱ3-13带动行走轮轴Ⅱ3-14转动,行走轮轴Ⅰ3-10、行走轮轴Ⅱ3-14均带动星型行走轮3-3转动,星型行走轮3-3与地面接触带动设备前进,两个滑壁3-1沿滑轨3-2带动设备沿直线运动,设备至煤层处松开踏板3-15,弹簧3-21不再压缩,弹簧3-21带动球头滑柱3-20向上运动,球头滑柱3-20通过踏板槽3-19带动踏板3-15绕踏板轴3-16转动,踏板3-15被踏板限位杆3-18限位不会过度翻转,球头滑柱3-20带动齿轮支架3-22升起,齿轮支架3-22通过离合齿轮轴3-23带动离合齿轮3-24升起,离合齿轮3-24与齿轮Ⅰ3-8不再齿轮Ⅱ3-9啮合,重复上述电机Ⅱ3-5至齿轮Ⅰ3-8传动过程,齿轮Ⅰ3-8不能带动齿轮Ⅱ3-9转动,重复上述齿轮Ⅱ3-9至星型行走轮3-3传动过程,星型行走轮3-3无法转动,设备停止前进,开启电机Ⅰ1-1,电机Ⅰ1-1带动电机Ⅰ轴1-2转动,电机Ⅰ轴1-2带动圆盘Ⅰ1-3转动,圆盘Ⅰ1-3带动圆盘Ⅰ拨杆1-4转动,圆盘Ⅰ拨杆1-4拉动连杆Ⅰ1-5绕铰接轴转动,连杆Ⅰ1-5拉动连杆Ⅱ1-7绕与支耳1-8的铰接轴转动,支耳1-8带动推板1-9在采块外壳1-25中滑动,推板1-9带动开采铲1-10在开采铲滑板1-11中滑动,推板1-9带动传动室Ⅰ1-12滑动,传动室Ⅰ1-12带动伸缩杆1-13在伸缩杆滑槽1-14中滑动,传动室Ⅱ不动,电机Ⅰ轴1-2带动锥齿轮Ⅰ1-17转动,锥齿轮Ⅰ1-17带动锥齿轮Ⅱ1-18转动,锥齿轮Ⅱ1-18带动锥齿轮Ⅱ轴1-19转动,锥齿轮Ⅱ轴1-19带动圆盘Ⅱ1-20转动,圆盘Ⅱ1-20带动圆盘Ⅱ拨杆1-21转动,圆盘Ⅱ拨杆1-21拨动带槽拨盘1-22转动,带槽拨盘1-22带动拨盘轴1-23转动,拨盘轴1-23拨动带动传动室底板1-16转动,传动室底板1-16带动传动室Ⅱ1-15转动,传动室Ⅱ1-15通过伸缩杆滑槽1-14带动伸缩杆1-13转动,伸缩杆1-13带动传动室Ⅰ1-12转动,传动室Ⅰ1-12带动推板1-9转动,推板1-9带动开采铲1-10转动,当开采铲1-10铲入煤层后,圆盘Ⅱ拨杆1-21拨动带槽拨盘1-22转动22.5°,重复上述带槽拨盘1-22至开采铲1-10传动过程,开采铲1-10转动22.5°将煤层中的煤成块剥落,当开采铲1-10离开煤层,开采铲1-10继续转动22.5°,此时开采铲1-10不与煤层接触,推板1-9与采块外壳1-25滑动连接、开采铲滑板1-11与采块外壳1-25转动连接、支撑环1-24与采块外壳1-25转动连接,不会与采块外壳1-25产生干涉,采块外壳1-25不转动,电机Ⅰ1-1跟随传动室Ⅱ1-15一起转动,如此就可将煤层中的煤成块剥落,摇动摇柄2-8,摇柄2-8带动螺纹轴2-9转动,螺纹轴2-9被滑块滑轨2-10轴向限位,螺纹轴2-9通过螺纹带动螺纹滑块2-7在滑块滑槽2-11中滑动,螺纹滑块2-7通过升降支耳2-6带动升降连杆2-5趋于水平或趋于竖直,升降连杆2-5绕连接轴2-4转动,升降连杆2-5趋于水平或趋于竖直带动连接轴2-4升起或降落,连接轴2-4带动采块底板1-27升起或降落,采块底板1-27带动采块外壳1-25升起或降落,采块外壳1-25带动采块外壳滑翼1-26在滑翼滑槽2-1中升起或降落,采块外壳1-25带动带动采块组合体1升起或降落,这样就实现了剥落不同高度的煤块,当前位置煤层剥落完毕后,继续前进可继续工作。
[0038]当然,上述说明并非对本发明的限制,本发明也不仅限于上述举例,本技术领域的普通技术人员在本发明的实质范围内所做出的变化、改型、添加或替换,也属于本发明的保护范围。

