详情
摘要
本发明公开了一种垂直建筑墙壁植物挡风装置,包括种植平台,所述种植平台上设有种植槽,所述种植槽内种植有植物,所述种植平台的两侧均设有进风通道,所述进风通道的通道口安装有风压阀门,所述进风通道内迎风向安装有叶轮,所述进风通道的内壁位于叶轮的位置处设有环形槽,所述叶轮的尖端处位于环形槽内,所述叶轮的叶片之间固定有滑杆,所述滑杆的末端滑动连接有摩擦块,位于上方所述环形槽的内壁固定有导热板,所述导热板与摩擦块相接触,所述种植槽的两侧均设有装置腔,所述导热板的一部分延伸至装置腔内,所述装置腔内装有蒸发液。本发明结构合理,能够在大风天气下升起挡风装置抵御大风,避免植物被连根拔起吹落造成危险。
权利要求
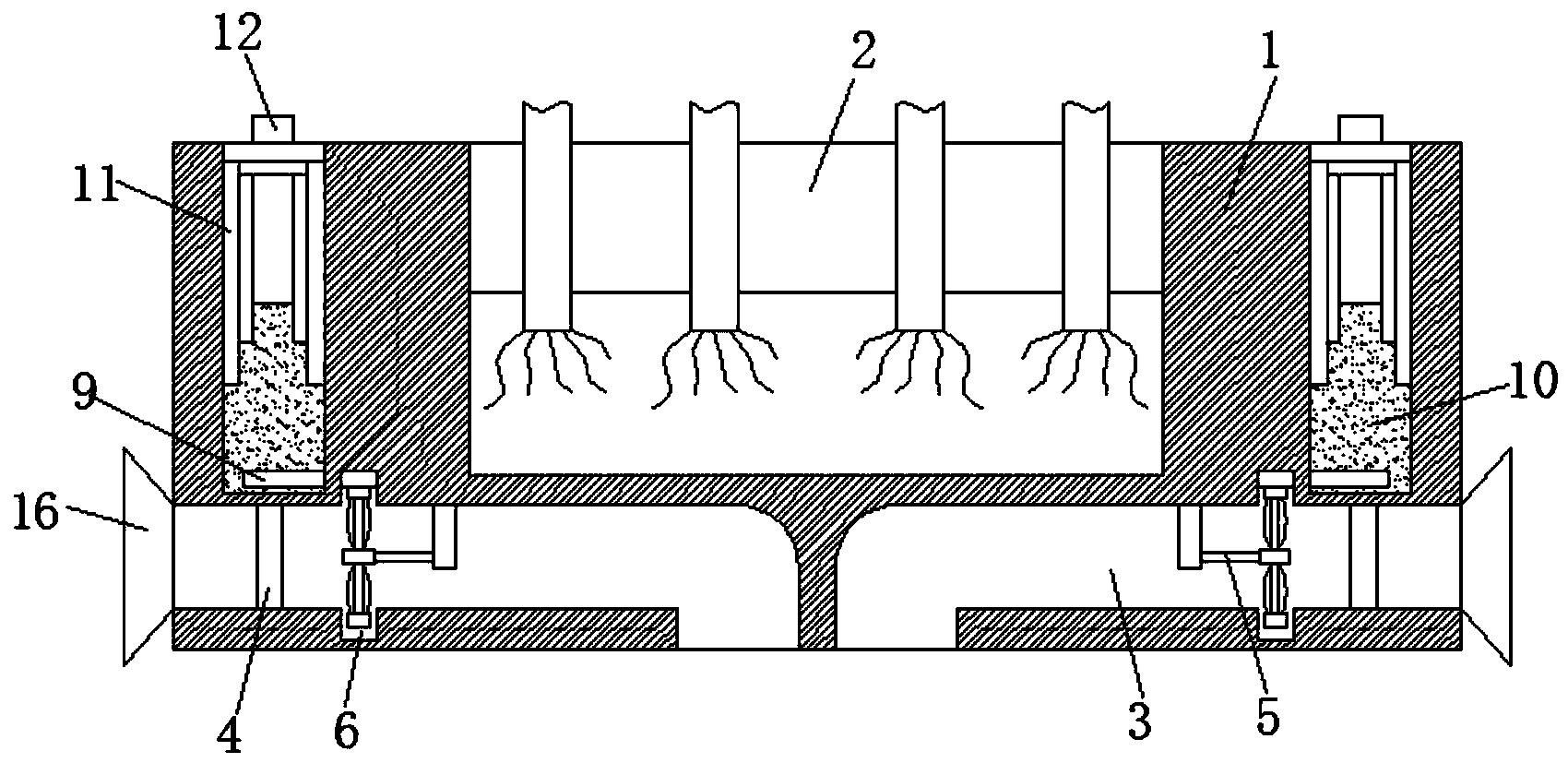
1.一种垂直建筑墙壁植物挡风装置,包括种植平台(1),其特征在于,所述种植平台(1)上设有种植槽(2),所述种植槽(2)内种植有植物,所述种植平台(1)的两侧均设有进风通道(3),所述进风通道(3)的通道口安装有风压阀门(4),所述进风通道(3)内迎风向安装有叶轮(5),所述进风通道(3)的内壁位于叶轮(5)的位置处设有环形槽(6),所述叶轮(5)的尖端处位于环形槽(6)内,所述叶轮(5)的叶片之间固定有滑杆(7),所述滑杆(7)的末端滑动连接有摩擦块(8),位于上方所述环形槽(6)的内壁固定有导热板(9),所述导热板(9)与摩擦块(8)相接触,所述种植槽(2)的两侧均设有装置腔(10),所述导热板(9)的一部分延伸至装置腔(10)内,所述装置腔(10)内装有蒸发液,所述装置腔(10)的内壁安装有伸缩套筒(11),所述伸缩套筒(11)的各套筒之间滑动密封设置,所述伸缩套筒(11)的最后一节套筒内密封固定有挡风板(12)。
2.根据权利要求1所述的一种垂直建筑墙壁植物挡风装置,其特征在于,所述进风通道(3)的通道口安装有集风罩(16)。
3.根据权利要求1所述的一种垂直建筑墙壁植物挡风装置,其特征在于,所述摩擦块(8)的外侧壁弧形设置,所述导热板(9)位于环形槽(6)内的部分弧形设置且安装有摩擦片。
4.根据权利要求1所述的一种垂直建筑墙壁植物挡风装置,其特征在于,所述挡风板(12)内设有装置通道(13),所述装置通道(13)内固定有折叠气囊(14),所述折叠气囊(14)的下端与装置腔(10)连通,所述折叠气囊(14)的外侧壁膨胀系数大于内侧壁的膨胀系数,所述折叠气囊(14)上均布有多个透光孔,所述折叠气囊(14)的外表面涂有黑色涂料。
说明书
一种垂直建筑墙壁植物挡风装置
技术领域
[0001]本发明涉及垂直建筑技术领域,尤其涉及一种垂直建筑墙壁植物挡风装置。
背景技术
[0002]目前城市人口越来越多,房屋的高度也越来越高,城市的绿化率随着人口增多使得植物种植的土地减少,现在出现了一种垂直建筑,即环绕建筑物安装有多个种植平台,种植平台上种植较多的植物,这大大的提高了城市的绿化率和空气质量。
[0003]但是由于植物直接种植在建筑物的四周的种植平台上,当遇到大风天气时,种植平台上未安装挡风装置,当植物承受不住较大风力时,很可能被连根拔起,连根拔起的植物在空中坠落可能会砸中路人或者砸坏别的设施,所以需要在种植平台上安装挡风装置。
发明内容
[0004]本发明的目的是为了解决现有技术中存在的缺点,而提出的一种垂直建筑墙壁植物挡风装置,其能够在大风天气下升起挡风装置抵御大风,避免植物被连根拔起吹落造成危险。
[0005]为了实现上述目的,本发明采用了如下技术方案:
[0006]一种垂直建筑墙壁植物挡风装置,包括种植平台,所述种植平台上设有种植槽,所述种植槽内种植有植物,所述种植平台的两侧均设有进风通道,所述进风通道的通道口安装有风压阀门,所述进风通道内迎风向安装有叶轮,所述进风通道的内壁位于叶轮的位置处设有环形槽,所述叶轮的尖端处位于环形槽内,所述叶轮的叶片之间固定有滑杆,所述滑杆的末端滑动连接有摩擦块,位于上方所述环形槽的内壁固定有导热板,所述导热板与摩擦块相接触,所述种植槽的两侧均设有装置腔,所述导热板的一部分延伸至装置腔内,所述装置腔内装有蒸发液,所述装置腔的内壁安装有伸缩套筒,所述伸缩套筒的各套筒之间滑动密封设置,所述伸缩套筒的最后一节套筒内密封固定有挡风板。
[0007]优选地,所述进风通道的通道口安装有集风罩。
[0008]优选地,所述摩擦块的外侧壁弧形设置,所述导热板位于环形槽内的部分弧形设置且安装有摩擦片。
[0009]优选地,所述挡风板内设有装置通道,所述装置通道内固定有折叠气囊,所述折叠气囊的下端与装置腔连通,所述折叠气囊的外侧壁膨胀系数大于内侧壁的膨胀系数,所述折叠气囊上均布有多个透光孔,所述折叠气囊的外表面涂有黑色涂料。
[0010]本发明与现有技术相比,其有益效果为:
[0011]1、设置有风压阀门,能够在大风天气对植物造成威胁时自动打开,进风通道内安装有叶轮,叶轮上安装有摩擦块,环形槽内安装有与摩擦块相接触的导热板,导热板加热蒸发液,蒸发液蒸发膨胀将挡风板升起进行挡风,结构简单,能够根据风速的大小实现挡风板的升降高度,提高挡风效果,避免风将植物连根拔起坠落造成危险。
[0012]2、设置有折叠气囊,在夏天太阳照射强度大时,蒸发液自然蒸发使折叠气囊膨胀打开为植物进行遮阳。

附图说明
[0013]图1为本发明提出的一种垂直建筑墙壁植物挡风装置的结构示意图;
[0014]图2为本发明提出的一种垂直建筑墙壁植物挡风装置的叶轮结构示意图;
[0015]图3为本发明提出的一种垂直建筑墙壁植物挡风装置的实施例二示意图。
[0016]图中:1种植平台、2种植槽、3进风通道、4风压阀门、5叶轮、6环形槽、7滑杆、8摩擦块、9导热板、10装置腔、11伸缩套筒、12挡风板、13装置通道、14折叠气囊、15透光孔、16集风罩。
具体实施方式
[0017]下面将结合本发明实施例中的附图,对本发明实施例中的技术方案进行清楚、完整地描述,显然,所描述的实施例仅仅是本发明一部分实施例,而不是全部的实施例。
[0018]实施例一:
[0019]参照图1-2,一种垂直建筑墙壁植物挡风装置,包括种植平台1,种植平台1上设有种植槽2,种植槽2内种植有植物,种植平台1的两侧均设有进风通道3,进风通道3的通道口安装有风压阀门4,进风通道3内迎风向安装有叶轮5,进风通道3的内壁位于叶轮5的位置处设有环形槽6,叶轮5的尖端处位于环形槽6内,叶轮5的叶片之间固定有滑杆7,滑杆7的末端滑动连接有摩擦块8,位于上方环形槽6的内壁固定有导热板9,导热板9与摩擦块8相接触,将导热板9设置在环形槽6内,能够有效降低热量随进风通道3内的风而流失。种植槽2的两侧均设有装置腔10,导热板9的一部分延伸至装置腔10内,装置腔10内装有蒸发液,装置腔10的内壁安装有伸缩套筒11,伸缩套筒11的各套筒之间滑动密封设置,伸缩套筒11的最后一节套筒内密封固定有挡风板12。
[0020]本发明中,进风通道3的通道口安装有集风罩16,保证进风量的充足。摩擦块8的外侧壁弧形设置,导热板9位于环形槽6内的部分弧形设置且安装有摩擦片,弧形设置使接触面积增大,摩擦生热的效率高,且不会影响叶轮5的正常转动。
[0021]本发明中,当风速较大时,达到风压阀门4的启闭值,使风压阀门4打开进入进风通道3内,带动叶轮5转动,滑杆7上的摩擦块8不停地摩擦导热板9,导热板9将热量传至装置腔10内,温度不停的升高,使蒸发液蒸发膨胀,由于伸缩套筒11之间的套筒以及挡风板12之间滑动密封设置,当蒸发液蒸发的气体量达到一定程度时,将伸缩套筒11伸缩,挡风板12被抵出装置腔10进行挡风,风速越快,摩擦的越快,从而使温度越高,蒸发液蒸发的程度越高,从而使挡风板12升的越高,挡风效果也更佳,值得注意的是,由于摩擦块8与滑杆7的末端滑动连接,风速越快,叶轮5转动的越快,离心力增大,从而使摩擦块8与导热板9接触的更加紧密,产热效率也更高,从而在风速较大的情况下使挡风板12能够快速的升高进行挡风。
[0022]实施例二:
[0023]如图3,本实施例中,挡风板12内设有装置通道13,装置通道13内固定有折叠气囊14,折叠气囊14的下端与装置腔10连通,折叠气囊14的外侧壁膨胀系数大于内侧壁的膨胀系数,折叠气囊14上均布有多个透光孔,折叠气囊14的外表面涂有黑色涂料。
[0024]本实施例中,在夏天由于日照强度大,植物经过暴晒后很容易晒死。夏天温度较高,蒸发液也会部分的蒸发,蒸发的气体不足以将伸缩套筒11抵出,蒸发的气体进入折叠气囊14内进行充气,折叠气囊14膨胀伸缩离开装置通道13,由于折叠气囊14的外侧壁膨胀系数大于内侧壁的膨胀系数,以折叠气囊14外侧的膨胀程度大于内侧的膨胀程度,从而使折叠气囊14弯曲遮挡在植物的上方进行遮阳,折叠气囊14上均布有多个透光孔15,保证正常的光照;当日照强烈时,温度也随之升高,蒸发液的蒸发程度增大,进入折叠气囊14内的气体量增多,折叠气囊14的膨胀程度增大,从而使透光孔15的孔径变小,降低透光率。
[0025]以上所述,仅为本发明较佳的具体实施方式,但本发明的保护范围并不局限于此,任何熟悉本技术领域的技术人员在本发明揭露的技术范围内,根据本发明的技术方案及其发明构思加以等同替换或改变,都应涵盖在本发明的保护范围之内。

