详情
摘要
本发明公开了一种登山腿部工具,包括安装在鞋上的辅助套,所述辅助套上还固定连接有支撑套,所述支撑套内设有竖直方向的第一密封腔和凹形腔,所述密封腔内滑动连接有活动柱,所述活动柱的上端活动连接有连接杆,所述连接杆背离活动柱的一端固定连接有固定环,所述第一密封腔内填充有水溶液,所述支撑套和辅助套之间连接有连通管,所述辅助套内竖直设置有第二密封腔。本发明在排斥力的作用下使得辅磁石带动压强钉向下移动,同时弹簧压缩,然后压强钉的尖端部分由于接触面积小会部分进入泥土中,从而增加鞋和地面整体的稳定性,从而避免在爬山的时候造成鞋面和山体打滑,以及游客的人生安全造成了伤害。
权利要求
1.一种登山腿部工具,包括安装在鞋上的辅助套(1),其特征在于,所述辅助套(1)上还固定连接有支撑套(5),所述支撑套(5)内设有竖直方向的第一密封腔和凹形腔(9),所述密封腔内滑动连接有活动柱(4),所述活动柱(4)的上端活动连接有连接杆(8),所述连接杆(8)背离活动柱(4)的一端固定连接有固定环(7),所述第一密封腔内填充有水溶液(10),所述支撑套(5)和辅助套(1)之间连接有连通管(6),所述辅助套(1)内竖直设置有第二密封腔(14),所述第二密封腔(14)内滑动连接有主磁石(2),所述连通管(6)的一端与第二密封腔(14)连通,所述连通管(6)的另一端和第一密封腔相连通,所述第二密封腔(14)内还滑动连接有辅磁石(13),所述辅磁石(13)和主磁石(2)相对的一侧磁化方向相同,所述辅磁石(13)背离主磁石(2)的一侧固定连接有压强钉(12),所述压强钉(12)的两侧对称设有弹簧(11),所述弹簧(11)的一端固定连接在辅磁石(13)的一侧,所述辅磁石(13)的另一端固定连接在第二密封腔(14)的侧壁上,所述支撑套(5)的两侧对称连接有环形条(3),所述环形条(3)内安装有软性薄膜套,所述软性薄膜套的一端和第一密封腔连通。
2.根据权利要求1所述的一种登山腿部工具,其特征在于,所述连接杆(8)背离固定环(7)的一端呈球形设置,所述活动柱(4)的一端设有与球形设置相匹配的球形槽,所述连接杆(8)的球形端转动连接在球形槽内。
3.根据权利要求1所述的一种登山腿部工具,其特征在于,所述环形条(3)由软性材料制成。
说明书
一种登山腿部工具
技术领域
[0001]本发明涉及登山旅游技术领域,尤其涉及一种登山腿部工具。
背景技术
[0002]随着社会的发展,生活质量的提高,旅游已经成为很多人假期必备的项目之一;
[0003]尤其是登山,但是每年因为登山所产生的安全事故不断的增加,尤其在爬山的时候,以为山体是倾斜设置,且由很多碎石,从而容易导致鞋打滑,从而对游客造成安全事故。
发明内容
[0004]本发明的目的是为了解决现有技术中存在的缺点,如:在爬山的时候,以为山体是倾斜设置,且由很多碎石,从而容易导致鞋打滑,从而对游客造成安全事故。
[0005]为了实现上述目的,本发明采用了如下技术方案:
[0006]一种登山腿部工具,包括安装在鞋上的辅助套,所述辅助套上还固定连接有支撑套,所述支撑套内设有竖直方向的第一密封腔和凹形腔,所述密封腔内滑动连接有活动柱,所述活动柱的上端活动连接有连接杆,所述连接杆背离活动柱的一端固定连接有固定环,所述第一密封腔内填充有水溶液,所述支撑套和辅助套之间连接有连通管,所述辅助套内竖直设置有第二密封腔,所述第二密封腔内滑动连接有主磁石,所述连通管的一端与第二密封腔连通,所述连通管的另一端和第一密封腔相连通,所述第二密封腔内还滑动连接有辅磁石,所述辅磁石和主磁石相对的一侧磁化方向相同,所述辅磁石背离主磁石的一侧固定连接有压强钉,所述压强钉的两侧对称设有弹簧,所述弹簧的一端固定连接在辅磁石的一侧,所述辅磁石的另一端固定连接在第二密封腔的侧壁上,所述支撑套的两侧对称连接有环形条,所述环形条内安装有软性薄膜套,所述软性薄膜套的一端和第一密封腔连通。
[0007]优选的,所述连接杆背离固定环的一端呈球形设置,所述活动柱的一端设有与球形设置相匹配的球形槽,所述连接杆的球形端转动连接在球形槽内。
[0008]优选的,所述环形条由软性材料制成。
[0009]与现有技术相比,本发明的有益效果是:
[0010]1、在排斥力的作用下使得辅磁石带动压强钉向下移动,同时弹簧压缩,然后压强钉的尖端部分由于接触面积小会部分进入泥土中,从而增加鞋和地面整体的稳定性,从而避免在爬山的时候造成鞋面和山体打滑,以及游客的人生安全造成了伤害;
[0011]2、水溶液进入软性薄膜套使其慢慢膨胀,从而降低小腿上的温度,同时在活动柱上下移动的过程中可以使得水溶液在软性薄膜套中不断的流动,从而加速热量的散失;
[0012]3、该设备是将辅助套安装在鞋的侧面,可以随时的拆卸和安装,使用起来更加的方便和科学。

附图说明
[0013]图1为本发明提出的一种登山腿部工具底端局部正面结构示意图;
[0014]图2为本发明提出的一种登山腿部工具上端局部正面结构示意图;
[0015]图3为图1中A的局部放大结构示意图。
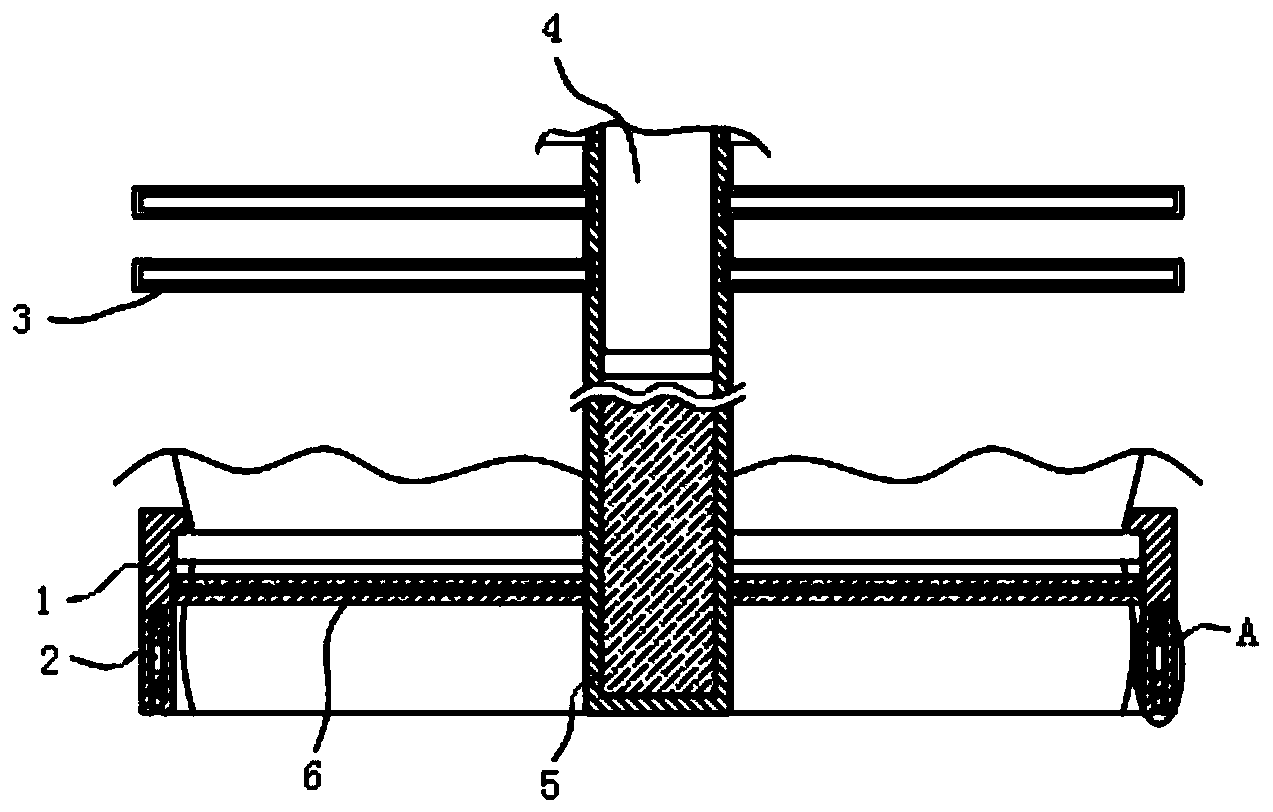
[0016]图中:1辅助套、2主磁石、3环形条、4活动柱、5支撑套、6连通管、7固定环、8连接杆、9凹形腔、10水溶液、11弹簧、12压强钉、13辅磁石、14第二密封腔。
具体实施方式
[0017]下面将结合本发明实施例中的附图,对本发明实施例中的技术方案进行清楚、完整地描述,显然,所描述的实施例仅仅是本发明一部分实施例,而不是全部的实施例。
[0018]在本发明的描述中,需要理解的是,术语“上”、“下”、“前”、“后”、“左”、“右”、“顶”、“底”、“内”、“外”等指示的方位或位置关系为基于附图所示的方位或位置关系,仅是为了便于描述本发明和简化描述,而不是指示或暗示所指的装置或元件必须具有特定的方位、以特定的方位构造和操作,因此不能理解为对本发明的限制。
[0019]参照图1-3,一种登山腿部工具,包括安装在鞋上的辅助套1,辅助套1上还固定连接有支撑套5,支撑套5内设有竖直方向的第一密封腔和凹形腔9,密封腔内滑动连接有活动柱4,活动柱4的上端活动连接有连接杆8,连接杆8背离活动柱4的一端固定连接有固定环7,固定环7是由金属材料的两个半环制成,之间利用锁扣连接,(这里的锁扣,一般市面上购买的都行)方便将其安装在大腿上,连接杆8背离固定环7的一端呈球形设置,活动柱4的一端设有与球形设置相匹配的球形槽,连接杆8的球形端转动连接在球形槽内,连接杆8在活动柱4上做轻微的转动。
[0020]第一密封腔内填充有水溶液10,支撑套5和辅助套1之间连接有连通管6,辅助套1内竖直设置有第二密封腔14,第二密封腔14内滑动连接有主磁石2,连通管6的一端与第二密封腔14连通,连通管6的另一端和第一密封腔相连通,第二密封腔14内还滑动连接有辅磁石13,辅磁石13和主磁石2相对的一侧磁化方向相同,辅磁石13背离主磁石2的一侧固定连接有压强钉12,辅磁石13和主磁石2相对侧产生排斥力,压强钉12的两侧对称设有弹簧11,弹簧11的一端固定连接在辅磁石13的一侧,辅磁石13的另一端固定连接在第二密封腔14的侧壁上,支撑套5的两侧对称连接有环形条3,环形条3内安装有软性薄膜套,软性薄膜套的一端和第一密封腔连通,环形条3由软性材料制成,环形条3的软性材料可以随意变形和弯曲。
[0021]本发明中,将固定环7固定在大腿上,辅助套1固定在鞋的侧边,初始状态时,主磁石2和环形条3之间的排斥力以及弹簧11的弹力的合力和主磁石2上面水溶液10水压等大,然后将环形条3按在腿部,并使其贴在小腿上,爬山登山的时候,腿部弯曲,大腿和小腿之间产生角度,此时连接杆8向下移动并带动活动柱4向下移动,在第一密封腔内的水溶液10被挤压通过连通管6慢慢的进入第二密封腔14中,此时主磁石2上面部分的第二密封腔14水压增加,平衡打破,会带动主磁石2向下移动,在排斥力的作用下使得辅磁石13带动压强钉12向下移动,同时弹簧11压缩,然后压强钉12的尖端部分由于接触面积小会部分进入泥土中,从而增加鞋和地面整体的稳定性,从而避免在爬山的时候造成鞋面和山体打滑,以及游客的人生安全造成了伤害,当腿部不在弯曲的时候,活动柱4向上移动使得第一密封腔内的压强减小,主磁石2在斥力的作用下向上移动,使得水溶液10回到原来的状态。
[0022]当活动柱4向下移动的时候,部分水溶液10会被压入环形条3中的软性薄膜套,软性薄膜套慢慢膨胀,从而降低小腿上的温度,同时在活动柱4上下移动的过程中可以使得水溶液10在软性薄膜套中不断的流动,从而加速热量的散失。
[0023]以上所述,仅为本发明较佳的具体实施方式,但本发明的保护范围并不局限于此,任何熟悉本技术领域的技术人员在本发明揭露的技术范围内,根据本发明的技术方案及其发明构思加以等同替换或改变,都应涵盖在本发明的保护范围之内。

