详情
摘要
本发明公开了一种城市牛皮癣清除装置,包括负载平台,所述负载平台的下端安装有四个呈矩形设置的移动轮,所述负载平台的上端设置有蓄电池,所述负载平台的上端固定连接有支板,所述支板的一侧侧壁固定连接有拉杆,所述支板远离拉杆的一侧侧壁固定连接有四个水平设置的固定块,四个所述固定块远离支板的一侧侧壁固定连接有放置环,所述放置环的内侧壁对称固定连接有两个橡胶块,两个所述橡胶块均为弧形。优点在于:城市牛皮癣依次通过喷水装置、热风装置、铲刀装置和清洁刷装置的处理,能将城市牛皮癣彻底的进行清除,节省了大量的人力成本,清洁效率高且清洁效果好。
权利要求
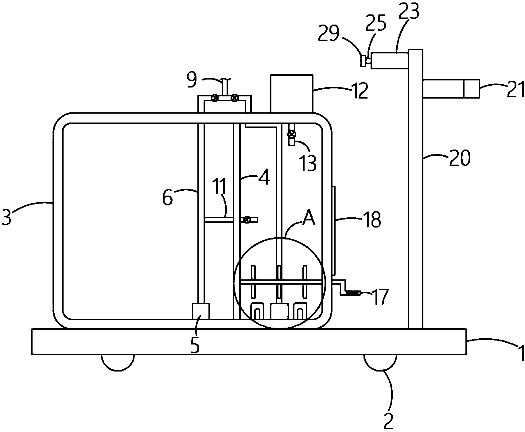
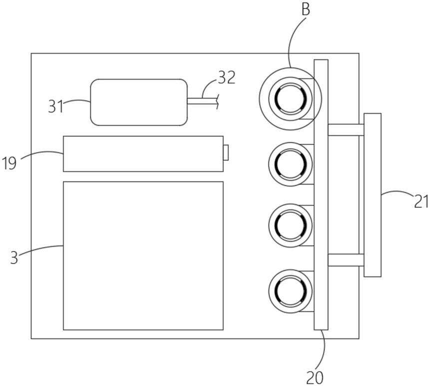
1.一种城市牛皮癣清除装置,包括负载平台(1),其特征在于,所述负载平台(1)的下端安装有四个呈矩形设置的移动轮(2),所述负载平台(1)的上端设置有蓄电池(19),所述负载平台(1)的上端固定连接有支板(20),所述支板(20)的一侧侧壁固定连接有拉杆(21),所述支板(20)远离拉杆(21)的一侧侧壁固定连接有四个水平设置的固定块(22),四个所述固定块(22)远离支板(20)的一侧侧壁固定连接有放置环(23),所述放置环(23)的内侧壁对称固定连接有两个橡胶块(24),两个所述橡胶块(24)均为弧形,四个所述放置环(23)内按顺序依次设有清洁刷装置、铲刀装置、热风装置、喷水装置。
2.根据权利要求1所述的一种城市牛皮癣清除装置,其特征在于,所述清洁刷装置包括放置在放置环(23)内的第一清洁杆(30),所述第一清洁杆(30)的内部开设有第一空腔,所述第一空腔内安装有输气管(32),所述输气管(32)的一端连接有气动马达(33),所述气动马达(33)的驱动端固定连接有清洁刷(34),所述输气管(32)远离气动马达(33)的一端连接有压缩空气机(31)。
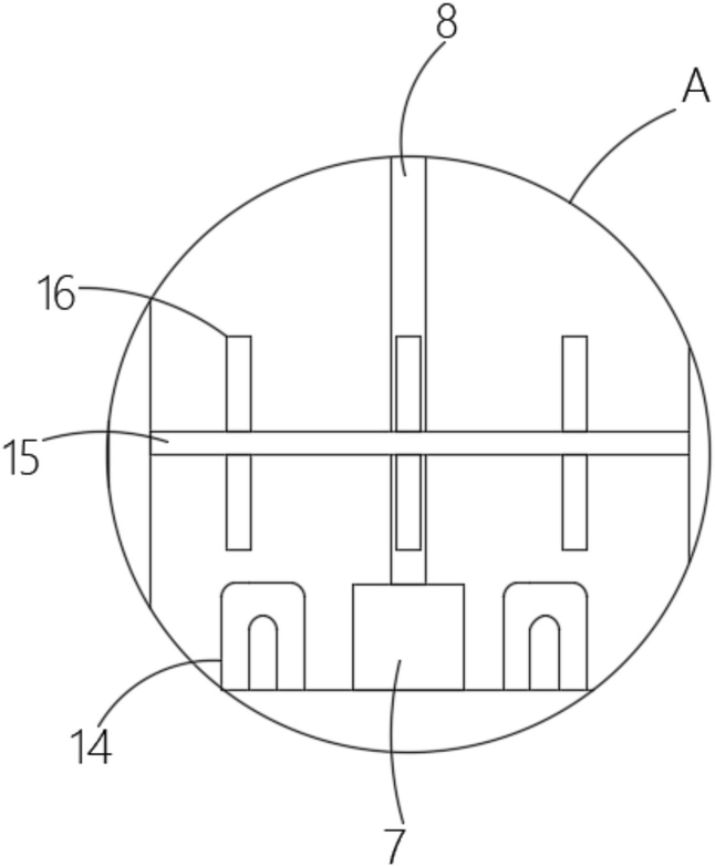
3.根据权利要求1所述的一种城市牛皮癣清除装置,其特征在于,所述铲刀装置包括第二清洁杆(35),所述第二清洁杆(35)的上端固定连接有固定箱(36),所述固定箱(36)的内侧壁固定连接有固定板(39),所述固定箱(36)的内侧壁安装有第一旋转电机,所述第一旋转电机的驱动端固定连接有转动圆盘(37),所述转动圆盘(37)的一侧侧壁转动连接有连杆(38),所述连杆(38)远离转动圆盘(37)的一端转动连接有移动杆(40),所述移动杆(40)远离连杆(38)的一端贯穿固定板(39)与固定箱(36)并延伸至固定箱(36)的外部,所述移动杆(40)远离连杆(38)的一端固定连接有铲刀(41)。
4.根据权利要求1所述的一种城市牛皮癣清除装置,其特征在于,所述热风装置包括第三清洁杆(42),所述第三清洁杆(42)的上端固定连接有热风罩(43),所述热风罩(43)的内底壁安装有第二旋转电机(29),所述第二旋转电机(29)的驱动端对称固定连接有两个扇叶,所述热风罩(43)的内壁安装有电热丝(27)与过滤网(28),所述过滤网(28)靠近出风口设置。
5.根据权利要求1所述的一种城市牛皮癣清除装置,其特征在于,所述喷水装置包括第四清洁杆(10),所述第四清洁杆(10)的内部开设有第二空腔,所述第二空腔的内部设有第三出水管(9),所述第三出水管(9)的一端连通有雾化喷头(25),所述雾化喷头(25)的外壁固定连接有水罩(26),所述负载平台(1)的上端设有储水箱(3),所述储水箱(3)的内顶壁与储水箱(3)的内底壁共同固定连接有隔板(4),所述隔板(4)与储水箱(3)之间形成清水腔与混合腔,所述清水腔的内底壁安装有第一抽水泵(5),所述第一抽水泵(5)的抽水端连接有第一出水管(6),所述第一出水管(6)远离第一抽水泵(5)的一端贯穿清水腔的内顶壁并延伸至储水箱(3)的外部,所述第一出水管(6)的外壁连通有出水支管(11),所述出水支管(11)远离第一出水管(6)的一端贯穿隔板(4)并延伸至混合腔,所述混合腔的内底壁安装有第二抽水泵(7),所述第二抽水泵(7)的抽水端连通有第二出水管(8),所述第二出水管(8)远离第二抽水泵(7)的一端贯穿混合腔的内顶壁并延伸至储水箱(3)的外部,位于储水箱(1)外部的所述第一出水管(6)与第二出水管(8)互相连通,所述第三出水管(9)远离雾化喷头(25)的一端与第二出水管(8)的外壁连通,所述储水箱(3)的上端在混合腔的对应位置上安装有药剂箱(12),所述药剂箱(12)的下端连通有药剂出管(13),所述出水支管(11)、第一出水管(6)、第三出水管(8)和药剂出管(13)上均安装有电磁阀,所述混合腔的内底壁安装有电加热管(14),所述混合腔内设有搅拌装置,所述储水箱(3)的外侧壁在混合腔的对应位置上开设有开口,所述开口的内壁安装有液位刻度尺(18)。
6.根据权利要求5所述的一种城市牛皮癣清除装置,其特征在于,所述搅拌装置包括与隔板(4)的一侧侧壁转动连接的转动杆(15),所述转动杆(15)远离隔板(4)的一端贯穿储水箱(3)的内侧壁并延伸至储水箱(3)的外部,所述转动杆(15)远离储水箱(3)的一端固定连接有转动把手(17),所述转动把手(17)的外壁固定连接有防滑套。
7.根据权利要求5所述的一种城市牛皮癣清除装置,其特征在于,所述储水箱(3)的上端在清水腔的对应位置上开设有进水口,所述进水口的内壁螺纹连接有箱盖。
说明书
一种城市牛皮癣清除装置
技术领域
[0001]本发明涉及城市清洁技术领域,尤其涉及一种城市牛皮癣清除装置。
背景技术
[0002]城市牛皮癣是人们形容城市里,车站、街道、厕所、小区等公共场合非法张贴或者涂写小广告的现象。多数情况下,这些广告是不合法的,涉及办假证、非法行医等违法经营行为,而且数量大、清除困难,对城市的市容市貌、环境卫生有很大的负面影响,严重影响城市的精神文明建设。
[0003]城市牛皮癣往往很难清除,主要是因为广告纸的胶粘面黏粘过于牢靠,用力撕除广告纸也会留下胶粘痕迹,现有技术中一般采取人力通过水洗、刀铲等方法清洁广告纸,耗费大量的人力成本,清洁效率低,清洁效果差。
[0004]为此,我们提出了一种城市牛皮癣清除装置。
发明内容
[0005]本发明的目的是为了解决现有技术中一般采取人力通过水洗、刀铲等方法清洁广告纸,耗费大量的人力成本,清洁效率低,清洁效果差的问题,而提出的一种城市牛皮癣清除装置。
[0006]为了实现上述目的,本发明采用了如下技术方案:一种城市牛皮癣清除装置,包括负载平台,所述负载平台的下端安装有四个呈矩形设置的移动轮,所述负载平台的上端设置有蓄电池,所述负载平台的上端固定连接有支板,所述支板的一侧侧壁固定连接有拉杆,所述支板远离拉杆的一侧侧壁固定连接有四个水平设置的固定块,四个所述固定块远离支板的一侧侧壁固定连接有放置环,所述放置环的内侧壁对称固定连接有两个橡胶块,两个所述橡胶块均为弧形,四个所述放置环内按顺序依次设有清洁刷装置、铲刀装置、热风装置、喷水装置。
[0007]在上述的城市牛皮癣清除装置中,所述清洁刷装置包括放置在放置环内的第一清洁杆,所述第一清洁杆的内部开设有第一空腔,所述第一空腔内安装有输气管,所述输气管的一端连接有气动马达,所述气动马达的驱动端固定连接有清洁刷,所述输气管远离气动马达的一端连接有压缩空气机。
[0008]在上述的城市牛皮癣清除装置中,所述铲刀装置包括第二清洁杆,所述第二清洁杆的上端固定连接有固定箱,所述固定箱的内侧壁固定连接有固定板,所述固定箱的内侧壁安装有第一旋转电机,所述第一旋转电机的驱动端固定连接有转动圆盘,所述转动圆盘的一侧侧壁转动连接有连杆,所述连杆远离转动圆盘的一端转动连接有移动杆,所述移动杆远离连杆的一端贯穿固定板与固定箱并延伸至固定箱的外部,所述移动杆远离连杆的一端固定连接有铲刀。
[0009]在上述的城市牛皮癣清除装置中,所述热风装置包括第三清洁杆,所述第三清洁杆的上端固定连接有热风罩,所述热风罩的内底壁安装有第二旋转电机,所述第二旋转电机的驱动端对称固定连接有两个扇叶,所述热风罩的内壁安装有电热丝与过滤网,所述过滤网靠近出风口设置。
[0010]在上述的城市牛皮癣清除装置中,所述喷水装置包括第四清洁杆,所述第四清洁杆的内部开设有第二空腔,所述第二空腔的内部设有第三出水管,所述第三出水管的一端连通有雾化喷头,所述雾化喷头的外壁固定连接有水罩,所述负载平台的上端设有储水箱,所述储水箱的内顶壁与储水箱的内底壁共同固定连接有隔板,所述隔板与储水箱之间形成清水腔与混合腔,所述清水腔的内底壁安装有第一抽水泵,所述第一抽水泵的抽水端连接有第一出水管,所述第一出水管远离第一抽水泵的一端贯穿清水腔的内顶壁并延伸至储水箱的外部,所述第一出水管的外壁连通有出水支管,所述出水支管远离第一出水管的一端贯穿隔板并延伸至混合腔,所述混合腔的内底壁安装有第二抽水泵,所述第二抽水泵的抽水端连通有第二出水管,所述第二出水管远离第二抽水泵的一端贯穿混合腔的内顶壁并延伸至储水箱的外部,位于储水箱外部的所述第一出水管与第二出水管互相连通,所述第三出水管远离雾化喷头的一端与第二出水管的外壁连通,所述储水箱的上端在混合腔的对应位置上安装有药剂箱,所述药剂箱的下端连通有药剂出管,所述出水支管、第一出水管、第三出水管和药剂出管上均安装有电磁阀,所述混合腔的内底壁安装有电加热管,所述混合腔内设有搅拌装置,所述储水箱的外侧壁在混合腔的对应位置上开设有开口,所述开口的内壁安装有液位刻度尺。
[0011]在上述的城市牛皮癣清除装置中,所述搅拌装置包括与隔板的一侧侧壁转动连接的转动杆,所述转动杆远离隔板的一端贯穿储水箱的内侧壁并延伸至储水箱的外部,所述转动杆远离储水箱的一端固定连接有转动把手,所述转动把手的外壁固定连接有防滑套。
[0012]在上述的城市牛皮癣清除装置中,所述储水箱的上端在清水腔的对应位置上开设有进水口,所述进水口的内壁螺纹连接有箱盖。
[0013]与现有的技术相比,本城市牛皮癣清除装置的优点在于:
[0014]1、通过隔板将清水与混合液进行分隔,满足不同情况时使用不同液体的情况,做到随用随制的特性,避免资源的浪费,同时维持药液的活性,避免长时间不使用活性降低的情况。
[0015]2、城市牛皮癣依次通过喷水装置、热风装置、铲刀装置和清洁刷装置的处理,能将城市牛皮癣彻底的进行清除,节省了大量的人力成本,清洁效率高且清洁效果好。

附图说明
[0016]图1为本发明提出的一种城市牛皮癣清除装置的侧视结构示意图;
[0017]图2为本发明提出的一种城市牛皮癣清除装置部分的俯视结构示意图;
[0018]图3为本发明提出的一种城市牛皮癣清除装置清洁刷装置、铲刀装置、热风装置和喷水装置的结构示意图;
[0019]图4为本发明提出的一种城市牛皮癣清除装置A部分放大的结构示意图;
[0020]图5为本发明提出的一种城市牛皮癣清除装置B部分放大的结构示意图。
[0021]图中:1负载平台、2移动轮、3储水箱、4隔板、5第一抽水泵、6第一出水管、7第二抽水泵、8第二出水管、9第三出水管、10第四清洁杆、11出水支管、12药剂箱、13药剂出管、14电加热管、15转动杆、16搅拌叶轮、17转动把手、18液位刻度尺、19蓄电池、20支板、21拉杆、22固定块、23放置环、24橡胶块、25雾化喷头、26水罩、27电热丝、28过滤网、29第二旋转电机、30第一清洁杆、31空气压缩机、32输气管、33气动马达、34清洁刷、35第二清洁杆、36固定箱、37转动圆盘、38连杆、39固定板、40移动杆、41铲刀、42第三清洁杆、43热风罩。
具体实施方式
[0022]以下实施例仅处于说明性目的,而不是想要限制本发明的范围。
[0023]参照图1-5,一种城市牛皮癣清除装置,包括负载平台1,负载平台1的下端安装有四个呈矩形设置的移动轮2,工作人员拉动拉杆21并利用移动轮2将负载平台1移动到工作地点,负载平台1的上端设置有蓄电池19,负载平台1的上端固定连接有支板20,支板20的一侧侧壁固定连接有拉杆21,支板20远离拉杆21的一侧侧壁固定连接有四个水平设置的固定块22,四个固定块22远离支板20的一侧侧壁固定连接有放置环23,放置环23的内侧壁对称固定连接有两个橡胶块24,两个橡胶块24起到夹持的作用,两个橡胶块24均为弧形,四个放置环23内按顺序依次设有清洁刷装置、铲刀装置、热风装置、喷水装置,清洁刷装置包括放置在放置环23内的第一清洁杆30,第一清洁杆30的内部开设有第一空腔,第一空腔内安装有输气管32,输气管32的一端连接有气动马达33,气动马达33的驱动端固定连接有清洁刷34,输气管32远离气动马达33的一端连接有压缩空气机31,空气压缩机31通过输气管32将压缩空气输送至气动马达33,气动马达33带动清洁刷34对胶粘部位进行清洁。
[0024]铲刀装置包括第二清洁杆35,第二清洁杆35的上端固定连接有固定箱36,固定箱36的内侧壁固定连接有固定板39,固定箱36的内侧壁安装有第一旋转电机,第一旋转电机的驱动端固定连接有转动圆盘37,转动圆盘37的一侧侧壁转动连接有连杆38,连杆38远离转动圆盘37的一端转动连接有移动杆40,移动杆40远离连杆38的一端贯穿固定板39与固定箱36并延伸至固定箱36的外部,移动杆40远离连杆38的一端固定连接有铲刀41,第一旋转电机带动转动圆盘转动37,转动圆盘37带动连杆38移动使得移动杆40往复直线运动,铲刀41对胶粘部位进行铲除。
[0025]热风装置包括第三清洁杆42,第三清洁杆42的上端固定连接有热风罩43,热风罩43的内底壁安装有第二旋转电机29,第二旋转电机29的驱动端对称固定连接有两个扇叶,热风罩43的内壁安装有电热丝27与过滤网28,过滤网28靠近出风口设置,间隔一段时间,将热风罩43的开口对准胶粘位置,第二旋转电机29带动扇叶转动,电热丝27对空气进行加热,热空气对粘胶进行加热,使粘性大大降低。
[0026]喷水装置包括第四清洁杆10,第四清洁杆10的内部开设有第二空腔,第二空腔的内部设有第三出水管9,第三出水管9的一端连通有雾化喷头25,雾化喷头25的外壁固定连接有水罩26,负载平台1的上端设有储水箱3,储水箱3的内顶壁与储水箱3的内底壁共同固定连接有隔板4,隔板4与储水箱3之间形成清水腔与混合腔,清水腔的内底壁安装有第一抽水泵5,第一抽水泵5的抽水端连接有第一出水管6,第一出水管6远离第一抽水泵5的一端贯穿清水腔的内顶壁并延伸至储水箱3的外部,第一出水管6的外壁连通有出水支管11,出水支管11远离第一出水管6的一端贯穿隔板4并延伸至混合腔,混合腔的内底壁安装有第二抽水泵7,第二抽水泵7的抽水端连通有第二出水管8,第二出水管8远离第二抽水泵7的一端贯穿混合腔的内顶壁并延伸至储水箱3的外部,位于储水箱1外部的第一出水管6与第二出水管8互相连通,第三出水管9远离雾化喷头25的一端与第二出水管8的外壁连通,储水箱3的上端在混合腔的对应位置上安装有药剂箱12,药剂箱12的下端连通有药剂出管13,出水支管11、第一出水管6、第三出水管8和药剂出管13上均安装有电磁阀,混合腔的内底壁安装有电加热管14,混合腔内设有搅拌装置,搅拌装置包括与隔板4的一侧侧壁转动连接的转动杆15,转动杆15远离隔板4的一端贯穿储水箱3的内侧壁并延伸至储水箱3的外部,转动杆15远离储水箱3的一端固定连接有转动把手17,转动把手17的外壁固定连接有防滑套,增大手与防滑套之间的摩擦力,以免打滑,储水箱3的外侧壁在混合腔的对应位置上开设有开口,开口的内壁安装有液位刻度尺18,便于对混合腔内的液体容积显示,储水箱3的上端在清水腔的对应位置上开设有进水口,进水口的内壁螺纹连接有箱盖,人力将广告纸没有胶粘的部位撕掉,关闭第一出水管6上的电磁阀并打开出水支管11上的电磁阀,第一抽水泵5将水输送到混合腔,打开药剂出管13上的电磁阀。一定量的药剂进入混合腔,转动转动把手17,转动杆15带动搅拌叶轮16对清水与药剂进行搅拌,电加热管14对混合液进行加热,关闭第一出水管6上的电磁阀并打开第二出水管8上的电磁阀,第二抽水泵7通过第二出水管8与第三出水管9输送至雾化喷头25,雾化喷头25将加热的混合液雾化并喷向广告纸上,对粘胶进行溶解。
[0027]第一清洁杆30、第二清洁杆35、第三清洁杆42和第四清洁杆10的外壁均固定连接有清洁杆套,清洁杆套的外壁固定连接有辅助握把,方便清洁人员进行清洁。
[0028]本发明中,工作人员拉动拉杆21并利用移动轮2将负载平台1移动到工作地点,人力将广告纸没有胶粘的部位撕掉,关闭第一出水管6上的电磁阀并打开出水支管11上的电磁阀,第一抽水泵5将水输送到混合腔,打开药剂出管13上的电磁阀。一定量的药剂进入混合腔,转动转动把手17,转动杆15带动搅拌叶轮16对清水与药剂进行搅拌,电加热管14对混合液进行加热,关闭第一出水管6上的电磁阀并打开第二出水管8上的电磁阀,第二抽水泵7通过第二出水管8与第三出水管9输送至雾化喷头25,雾化喷头25将加热的混合液雾化并喷向广告纸上,对粘胶进行溶解,间隔一段时间,将热风罩43的开口对准胶粘位置,第二旋转电机29带动扇叶转动,电热丝27对空气进行加热,热空气对粘胶进行加热,使粘性大大降低,第一旋转电机带动转动圆盘转动37,转动圆盘37带动连杆38移动使得移动杆40往复直线运动,铲刀41对胶粘部位进行铲除,只打开第一出水管6上的电磁阀,第一抽水泵5将清水输送至雾化喷头25,空气压缩机31通过输气管32将压缩空气输送至气动马达33,气动马达33带动清洁刷34对胶粘部位进行清洁。
[0029]尽管本文较多地使用了负载平台1、移动轮2、储水箱3、隔板4、第一抽水泵5、第一出水管6、第二抽水泵7、第二出水管8、第三出水管9、第四清洁杆10、出水支管11、药剂箱12、药剂出管13、电加热管14、转动杆15、搅拌叶轮16、转动把手17、液位刻度尺18、蓄电池19、支板20、拉杆21、固定块22、放置环23、橡胶块24、雾化喷头25、水罩26、电热丝27、过滤网28、第二旋转电机29、第一清洁杆30、空气压缩机31、输气管32、气动马达33、清洁刷34、第二清洁杆35、固定箱36、转动圆盘37、连杆38、固定板39、移动杆40、铲刀41、第三清洁杆42、热风罩43等术语,但并不排除使用其它术语的可能性。使用这些术语仅仅是为了更方便地描述和解释本发明的本质;把它们解释成任何一种附加的限制都是与本发明精神相违背的。

