详情
摘要
本发明公开了一种可自动灭火的化学实验桌,包括桌面,所述桌面的下方固定连接有底座,所述桌面上开设有多个储存槽,所述储存槽内设置有联动机构,所述联动机构包括隔绝块和连接轴,所述连接轴固定连接在隔绝块的底部,所述隔绝块内安装有铜板,所述储存槽的内壁上固定连接有一级记忆金属,所述铜板的两端均与一级记忆金属相抵。本发明当燃烧蔓延到储存槽内部的时候,储存槽内部的二级记忆金属受热拉伸,该二级记忆金属伸展的时候抵压U型轴,将隔绝块拉入储存槽内,由于大部分的燃烧都需要氧气的参与,则隔绝空气,即隔绝氧气,储存槽内部的氧气消耗殆尽,则燃烧的火焰就会被熄灭,实现液体的收集以及火势的熄灭。
权利要求
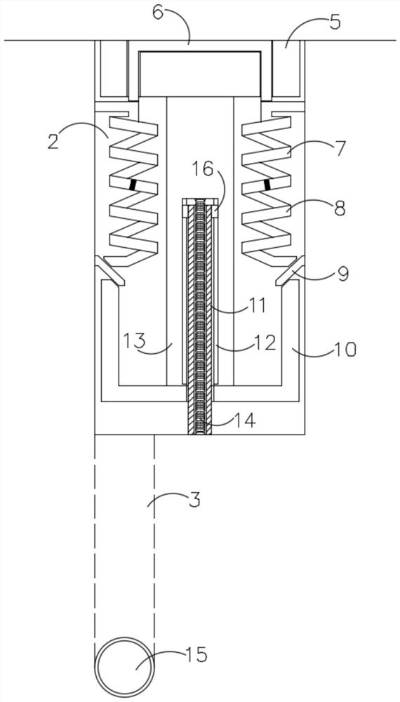
1.一种可自动灭火的化学实验桌,包括桌面(1),其特征在于,所述桌面(1)的下方固定连接有底座(4),所述桌面(1)上开设有多个储存槽(2),所述储存槽(2)内设置有联动机构,所述联动机构包括隔绝块(5)和连接轴(13),所述连接轴(13)固定连接在隔绝块(5)的底部,所述隔绝块(5)内安装有铜板(6),所述储存槽(2)的内壁上固定连接有一级记忆金属(7),所述铜板(6)的两端均与一级记忆金属(7)相抵,所述隔绝块(5)卡接在储存槽(2)内,所述一级记忆金属(7)远离铜板(6)的一端固定连接有二级记忆金属(8),所述储存槽(2)的内壁上对称固定连接有弹片(9),所述连接轴(13)的下端固定连接有U型轴(10),所述U型轴(10)与两个弹片(9)相抵,所述二级记忆金属(8)的下端也与弹片(9)相抵,所述连接轴(13)与储存槽(2)的内壁之间连接有弹簧(14),相邻的两个所述储存槽(2)之间设置有流通腔(3);所述连接轴(13)内开设有伸缩腔,所述伸缩腔内插设有固定轴(11),所述弹簧(14)安装在固定轴(11)内,所述固定轴(11)的下端与储存槽(2)的内壁固定连接,所述固定轴(11)上端的两侧对称固定连接有限位块(16),所述伸缩腔内对称开设有限位槽(12),所述限位块(16)与限位槽(12)滑动连接,所述弹簧(14)的一端与固定轴(11)的内壁固定连接,所述弹簧(14)的另一端与伸缩腔固定连接;相邻的两个所述储存槽(2)通过流通腔(3)连通,远离桌面(1)边缘的所述流通腔(3)的水平位置较高,靠近桌面(1)边缘的所述流通腔(3)的水平位置较高,每个所述流通腔(3)的端口均卡接有密封块(15);所述U型轴(10)的宽度远大于弹片(9)的厚度。
说明书
一种可自动灭火的化学实验桌
技术领域
[0001]本发明涉及实验桌技术领域,尤其涉及一种可自动灭火的化学实验桌。
背景技术
[0002]无论初中、高中还是大学,验证测试做实验都需要在实验桌上进行,特别是化学实验,化学实验中需要使用到各种各样的化学试剂,化学反应中普遍存在加热的反应条件,实验室是为学习实验的地方,其中加热一般采用酒精灯加热的方式进行,则每个实验桌上都会配备有酒精灯。
[0003]在实验的过程中,酒精灯内部积存有大量的酒精,实验的过程中存在许多的不确定因素,任何实验都需要保证学生的安全性,酒精灯作为易燃的危险物品,在实验的过程中如果不慎受到碰撞倾倒,酒精液体在桌面上自由流淌,燃烧的酒精灯在桌面上流淌,十分的危险,燃烧的面积越大危险越大,同时灭火也十分的麻烦,且如若灭火的方式不正确,反而会造成火势的增大。
发明内容
[0004]本发明的目的是为了解决现有技术中存在的缺点,如:酒精灯倾倒,流淌且燃烧的酒精会大面积迅速的蔓延到整个桌面,后期会很难处理,而提出的一种可自动灭火的化学实验桌。
[0005]为了实现上述目的,本发明采用了如下技术方案:
[0006]一种可自动灭火的化学实验桌,包括桌面,所述桌面的下方固定连接有底座,所述桌面上开设有多个储存槽,所述储存槽内设置有联动机构,所述联动机构包括隔绝块和连接轴,所述连接轴固定连接在隔绝块的底部,所述隔绝块内安装有铜板,所述储存槽的内壁上固定连接有一级记忆金属,所述铜板的两端均与一级记忆金属相抵,所述隔绝块卡接在储存槽内,所述一级记忆金属远离铜板的一端固定连接有二级记忆金属,所述储存槽的内壁上对称固定连接有弹片,所述连接轴的下端固定连接有U型轴,所述U型轴与两个弹片相抵,所述二级记忆金属的下端也与弹片相抵,所述连接轴与储存槽的内壁之间连接有弹簧,相邻的两个所述储存槽之间设置有流通腔。
[0007]优选的,所述连接轴内开设有伸缩腔,所述伸缩腔内插设有固定轴,所述弹簧安装在固定轴内,所述固定轴的下端与储存槽的内壁固定连接,所述固定轴上端的两侧对称固定连接有限位块,所述伸缩腔内对称开设有限位槽,所述限位块与限位槽滑动连接,所述弹簧的一端与固定轴的内壁固定连接,所述弹簧的另一端与伸缩腔固定连接。
[0008]优选的,相邻的两个所述储存槽通过流通腔连通,远离桌面边缘的所述流通腔的水平位置较高,靠近桌面边缘的所述流通腔的水平位置较高,每个所述流通腔的端口均卡接有密封块。
[0009]优选的,所述U型轴的宽度远大于弹片的厚度。
[0010]与现有技术相比,本发明的有益效果是:利用化学易燃液体燃烧的时候温度较高,配合记忆金属在不同温度作用下形状的不同,将隔绝块从储存槽内弹出,储存槽的存在能够起到收集易燃液体的作用,将液体收集起来,则燃烧范围就不再扩大;
[0011]当燃烧蔓延到储存槽内部的时候,储存槽内部的二级记忆金属受热拉伸,该二级记忆金属伸展的时候抵压U型轴,将隔绝块拉入储存槽内,由于大部分的燃烧都需要氧气的参与,则隔绝空气,即隔绝氧气,储存槽内部的氧气消耗殆尽,则燃烧的火焰就会被熄灭,实现液体的收集以及火势的熄灭。

附图说明
[0012]图1为本发明提出的一种可自动灭火的化学实验桌的顶部结构示意图;
[0013]图2为本发明提出的一种可自动灭火的化学实验桌的侧面结构示意图;
[0014]图3为本发明提出的一种可自动灭火的化学实验桌的储存槽内部结构示意图。
[0015]图中:1桌面、2储存槽、3流通腔、4底座、5隔绝块、6铜板、7一级记忆金属、8二级记忆金属、9弹片、10U型轴、11固定轴、12限位槽、13连接轴、14弹簧、15密封块、16限位块。
具体实施方式
[0016]下面将结合本发明实施例中的附图,对本发明实施例中的技术方案进行清楚、完整地描述,显然,所描述的实施例仅仅是本发明一部分实施例,而不是全部的实施例。
[0017]在本发明的描述中,需要理解的是,术语“上”、“下”、“前”、“后”、“左”、“右”、“顶”、“底”、“内”、“外”等指示的方位或位置关系为基于附图所示的方位或位置关系,仅是为了便于描述本发明和简化描述,而不是指示或暗示所指的装置或元件必须具有特定的方位、以特定的方位构造和操作,因此不能理解为对本发明的限制。
[0018]参照图1-3,一种可自动灭火的化学实验桌,包括桌面1,桌面1的下方固定连接有底座4,桌面1上开设有多个储存槽2,储存槽2内设置有联动机构,联动机构包括隔绝块5和连接轴13,连接轴13固定连接在隔绝块5的底部,隔绝块5内安装有铜板6,储存槽2的内壁上固定连接有一级记忆金属7,铜板6的两端均与一级记忆金属7相抵,隔绝块5卡接在储存槽2内,一级记忆金属7远离铜板6的一端固定连接有二级记忆金属8,储存槽2的内壁上对称固定连接有弹片9,连接轴13的下端固定连接有U型轴10,U型轴10与两个弹片9相抵,二级记忆金属8的下端也与弹片9相抵,连接轴13与储存槽2的内壁之间连接有弹簧14,相邻的两个储存槽2之间设置有流通腔3;
[0019]其中,连接轴13内开设有伸缩腔,伸缩腔内插设有固定轴11,弹簧14安装在固定轴11内,固定轴11的下端与储存槽2的内壁固定连接,固定轴11上端的两侧对称固定连接有限位块16,伸缩腔内对称开设有限位槽12,限位块16与限位槽12滑动连接,弹簧14的一端与固定轴11的内壁固定连接,弹簧14的另一端与伸缩腔固定连接,在连接轴13内安装固定轴11,固定轴11两侧固定连接的限位块16起到限位的作用,控制连接轴13相对固定轴11的上下活动范围,避免连接轴13脱离储存槽2的范围,同时在连接轴13内安装固定轴11,使得连接轴13在弹簧14弹力推动作用下移动的时候,上下移动的轨迹平稳,不会左右的晃动;
[0020]其中,相邻的两个储存槽2通过流通腔3连通,远离桌面1边缘的流通腔3的水平位置较高,靠近桌面1边缘的流通腔3的水平位置较高,每个流通腔3的端口均卡接有密封块15,靠近桌面1中心位置的流通腔3设置的水平位置明显高于远离桌面1中心位置的流通腔3,则整个流通腔3将斜向下流通,则如若储存槽2内积存有酒精等易燃液体时,能够顺着流通腔3从高相低处流,最终从流通腔3的端口位置流出,收集并且处理易燃液体,U型轴10的宽度远大于弹片9的厚度,则当U型轴10滑过弹片9的时候,能够完全将弹片9掩盖住,避免弹片9影响U型轴10的移动,明显的大小差距使得弹片9能够明确的将U型轴10卡住,且其中弹片9只对U型轴10的底部处于同垂直位置,但是与U型轴的两边不处于同一空间位置。
[0021]本发明中,当燃烧的酒精灯在桌面1上倾倒,并且导致酒精流出来的时候,酒精的液面均会迅速燃烧起来,酒精流淌之处均会蔓延火势,酒精燃烧的整个环境温度变高,相应的铜板6也将会受热升温,铜板6是热的良导体,铜板6将温度传导给一级记忆金属7,根据一级记忆金属7的固有属性,一级记忆金属7受热将会伸展拉长,一级记忆金属7伸展的时候会带动二级记忆金属8移动,二级记忆金属8推动弹片9,弹片9会向下转动,弹片9向下转动的时候,弹片9弯曲靠近内壁,相应的U型轴10就会被二级记忆金属8挤压出弹片9的下方,U型轴10脱离弹片9的限制,在弹簧14的弹力作用下,连接轴13会顺着固定轴11向上移动,隔绝块5会被顶出储存槽2内,储存槽2的内部空间就暴露出来了,在桌面1的表面流经的酒精液体遇到储存槽2将会自然的流入,酒精液体就流到储存槽2内被收集起来,有效的避免酒精继续蔓延,导致燃烧范围扩大,从而将酒精的燃烧范围控制在可控的小面积范围内,工作人员有足够的时间进行后期灭火处理。
[0022]当燃烧的酒精流入储存槽2内之后,相应的储存槽2空间内也将会迅速的燃烧升温,其中一级记忆金属7和二级记忆金属8是相互隔断的,一级记忆金属7受热不会对二级记忆金属8造成影响,当高温的酒精在隔绝块5表面流经的时候,一级记忆金属7会受热延展,但是二级记忆金属8不会受热延展,但是当燃烧的酒精流入储存槽2内,二级记忆金属8会受热延展,当二级记忆金属8受热延展的时候说明储存槽2内积存有一定量的酒精液体,并且隔绝块5的周围没有大量流淌的酒精,二级记忆金属8在一级记忆金属7的基础上继续延展,储存槽2内流入燃烧的酒精一级记忆金属7同样受热,二级记忆金属8和一级记忆金属7同时拉伸,二级记忆金属8的下端将会与U型轴10的底部接触并且相抵,二级记忆金属8推动U型轴10向下移动,U型轴10带动连接轴13和隔绝块5向下移动;
[0023]U型轴10在限位槽12内滑动,相应的弹簧14会被压缩,U型轴10直至移动至储存槽2的底部,由于二级记忆金属8和一级记忆金属7均拉直且不与弹片9直接接触,当U型轴10移动至弹片9的下方的时候,弹片9失去了U型轴10的压制恢复原状,且恢复原状的弹片9又能够起到对U型轴10的卡接作用,隔绝块5下移时候会将储存槽2的上端密封起来,酒精的燃烧就失去了氧气,燃烧的酒精能够快速的熄灭,储存槽2内也开始降温,一级记忆金属7和二级记忆金属8也将会慢慢的恢复收缩,但是U型轴10被弹片9卡住无法移动,直至隔绝块5的表面再次受热才能弹出,积存在储存槽2内的酒精液体从下端的流通腔3流出,工作人员只需要收集流出的酒精液体即可。
[0024]当桌面1的表面存在燃烧液体的时候,一级记忆金属7受热伸展,从而储存槽2将酒精等易燃液体收集起来,储存槽2内继续燃烧,在二级记忆金属8的作用下隔绝块5将会被拉入储存槽2内,将内部密闭起来,隔绝空气,隔绝燃烧的反应物,起到灭火的作用,且能够顺着流通腔3将液体收集起来,将酒精等易燃液体收集起来,并且隔绝空气灭火将火势控制在一定范围内,避免大范围蔓延。
[0025]以上,仅为本发明较佳的具体实施方式,但本发明的保护范围并不局限于此,任何熟悉本技术领域的技术人员在本发明揭露的技术范围内,根据本发明的技术方案及其发明构思加以等同替换或改变,都应涵盖在本发明的保护范围之内。

