详情
摘要
本发明公开了一种便于藕孔清理的清洗装置,包括壳体,所述壳体的两侧均开设有空腔,所述壳体的内侧壁上安装有和空腔底侧壁平面相平齐的安装网,所述安装网上安装有具有磁性的磁板,所述壳体的内侧壁上安装有和空腔上侧壁平面相平齐的挡板,所述挡板上安装有安装板,所述安装板的中心处转动连接有转轴,所述转轴上固定连接有叶轮,所述转轴背离叶轮的一端通过传动带转动连接有多个转销。本发明通过安装板、挡板、磁石、安装杆、轴承、转动块、插销、铁块等结构的相互作用,从而使得清洗丝在藕的孔洞里不断的转动,将孔洞内的杂物去除,从而将藕清理的更加的干净,方便食用。
权利要求
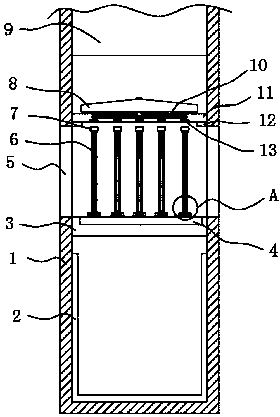
1.一种便于藕孔清理的清洗装置,包括壳体(1),其特征在于,所述壳体(1)的两侧均开设有空腔(5),所述壳体(1)的内侧壁上安装有和空腔(5)底侧壁平面相平齐的安装网(3),所述安装网(3)上安装有具有磁性的磁板(4),所述壳体(1)的内侧壁上安装有和空腔(5)上侧壁平面相平齐的挡板(12),所述挡板(12)上安装有安装板(11),所述安装板(11)的中心处转动连接有转轴,所述转轴上固定连接有叶轮(8),所述转轴背离叶轮(8)的一端通过传动带(10)转动连接有多个转销,所述转销上固定连接有磁石(13),且转销转动连接在安装板(11)内,所述磁板(4)上吸附有多个铁块(19),所述铁块(19)上转动连接有转动块(17),所述转动块(17)通过插销(18)卡接有安装杆(15),所述安装杆(15)上裹设有清洗丝(6),所述安装杆(15)的上端安装有铁环(7),所述铁环(7)位于磁石(13)的正下方,所述壳体(1)的上端卡接有送水管(9)。
2.根据权利要求1所述的一种便于藕孔清理的清洗装置,其特征在于,所述铁块(19)的内壁上卡设有轴承(16),所述转动块(17)卡接在轴承(16)的内壁上。
3.根据权利要求1所述的一种便于藕孔清理的清洗装置,其特征在于,所述插销(18)的横截面呈矩形设置。
4.根据权利要求1所述的一种便于藕孔清理的清洗装置,其特征在于,所述壳体(1)的底侧壁上安装有水流收集箱(2),所述水流收集箱(2)的开口朝上。
5.根据权利要求1所述的一种便于藕孔清理的清洗装置,其特征在于,所述安装杆(15)上还绕接有弹簧(14),所述弹簧(14)的一端固定连接有承载板(20),所述承载板(20)滑动连接在安装杆(15)上。
说明书
一种便于藕孔清理的清洗装置
技术领域
[0001]本发明涉及食品技术领域,尤其涉及一种便于藕孔清理的清洗装置。
背景技术
[0002]在食品中,藕微甜而脆,可生食也可煮食,。藕也是药用价值相当高的植物,所以成为很多人的喜爱食品之一。
[0003]我们将藕的头尾去除清洗后,经常会在藕的孔洞粘附有一些污泥或者细小的颗粒石子之类的杂物,如果只是单单依靠水流的冲洗是无法清洗掉的,从而给烹饪后食用带来很大的影响。
发明内容
[0004]本发明的目的是为了解决现有技术中存在的缺点,如:我们将藕的头尾去除清洗后,经常会在藕的孔洞粘附有有一些污泥或者细小的颗粒石子之类的杂物,如果只是单单依靠水流的冲洗是无法清洗掉的,从而在食用的时候带来很大的不便。
[0005]为了实现上述目的,本发明采用了如下技术方案:
[0006]一种便于藕孔清理的清洗装置,包括壳体,所述壳体的两侧均开设有空腔,所述壳体的内侧壁上安装有和空腔底侧壁平面相平齐的安装网,所述安装网上安装有具有磁性的磁板,所述壳体的内侧壁上安装有和空腔上侧壁平面相平齐的挡板,所述挡板上安装有安装板,所述安装板的中心处转动连接有转轴,所述转轴上固定连接有叶轮,所述转轴背离叶轮的一端通过传动带转动连接有多个转销,所述转销上固定连接有磁石,且转销转动连接在安装板内,所述磁板上吸附有多个铁块,所述铁块上转动连接有转动块,所述转动块通过插销卡接有安装杆,所述安装杆上裹设有清洗丝,所述安装杆的上端安装有铁环,所述铁环位于磁石的正下方,所述壳体的上端卡接有送水管。
[0007]优选的,所述铁块的内壁上卡设有轴承,所述转动块卡接在轴承的内壁上。
[0008]优选的,所述插销的横截面呈矩形设置。
[0009]优选的,所述壳体的底侧壁上安装有水流收集箱,所述水流收集箱的开口朝上。
[0010]优选的,所述安装杆上还绕接有弹簧,所述弹簧的一端固定连接有承载板,所述承载板滑动连接在安装杆上。
[0011]与现有技术相比,本发明的有益效果是:
[0012]1、通过安装板、挡板、磁石、安装杆、轴承、转动块、插销、铁块等结构的相互作用,从而使得清洗丝在藕的孔洞里不断的转动,将孔洞内的杂物去除,从而将藕清理的更加的干净,方便食用。
[0013]2、通过弹簧和承载板的相互作用,在水流向下移动的时候,可以使得承载板在弹簧的作用下上下移动,从而使得清洗丝和孔的内壁产生相对摩擦,从而增加清洗效果。

附图说明
[0014]图1为本发明提出的一种便于藕孔清理的清洗装置的正面结构示意图;
[0015]图2为图1中A的局部放大结构示意图;
[0016]图3为本发明实施例二的局部结构示意图。
[0017]图中:1壳体、2水流收集箱、3安装网、4磁板、5空腔、6清洗丝、7铁环、8叶轮、9送水管、10传动带、11安装板、12挡板、 13磁石、14弹簧、15安装杆、16轴承、17转动块、18插销、19铁块、20承载板。
具体实施方式
[0018]下面将结合本发明实施例中的附图,对本发明实施例中的技术方案进行清楚、完整地描述,显然,所描述的实施例仅仅是本发明一部分实施例,而不是全部的实施例。
[0019]在本发明的描述中,需要理解的是,术语“上”、“下”、“前”、“后”、“左”、“右”、“顶”、“底”、“内”、“外”等指示的方位或位置关系为基于附图所示的方位或位置关系,仅是为了便于描述本发明和简化描述,而不是指示或暗示所指的装置或元件必须具有特定的方位、以特定的方位构造和操作,因此不能理解为对本发明的限制。
[0020]实施例一
[0021]参照图1-2,一种便于藕孔清理的清洗装置,包括壳体1,壳体 1的两侧均开设有空腔5,壳体1的内侧壁上安装有和空腔5底侧壁平面相平齐的安装网3,安装网3上安装有具有磁性的磁板4,壳体 1的内侧壁上安装有和空腔5上侧壁平面相平齐的挡板12,挡板12 上安装有安装板11,安装板11的中心处转动连接有转轴,转轴上固定连接有叶轮8,转轴背离叶轮8的一端通过传动带10转动连接有多个转销,转销上固定连接有磁石13,且转销转动连接在安装板11 内,磁板4上吸附有多个铁块19,铁块19上转动连接有转动块17,铁块19的内壁上卡设有轴承16,转动块17卡接在轴承16的内壁上,转动块17通过插销18卡接有安装杆15,插销18的横截面呈矩形设置,安装杆15上裹设有清洗丝6,安装杆15的上端安装有铁环7,铁环7位于磁石13的正下方,壳体1的上端卡接有送水管9,壳体1 的底侧壁上安装有水流收集箱2,水流收集箱2的开口朝上。
[0022]本实施例中,水流从送水管9进入的方式根据使用情况而定,可以是通过间歇式出水机构(为本实施例选择的入水方式),也可以选择人工加水,根据孔洞的数量选择铁块19的数量,然后将安装杆15 卡在转动块17内,通过插销18方便安装杆15的拆卸和安装,然后将铁块19根据藕孔洞的位置放在磁板4上,将切好呈块的藕放在安装杆15上,使得孔洞穿过安装杆15,然后让铁环7和磁石13对齐,水流从送水管9进入壳体1的时候,水流冲击在叶轮8上,水的势能转化为叶轮8的动能使其转动,然后转轴通过传动带10带动磁石13 转动,磁石13转动时,磁场产生交替性的变化,从而在磁场的作用下铁环7也随着磁石13转动,从而带动安装杆15转动,进而使得清洁丝6在孔的内部上旋转,同时水流从孔内流过,将清洗下的污泥冲洗掉,进入水流收集箱2中,然后将孔的内壁清洗干净,方便食用。
[0023]实施例二
[0024]实施例二与实施例一不同之处在于,安装杆15上还绕接有弹簧 14,弹簧14的一端固定连接有承载板20,承载板20滑动连接在安装杆15上,弹簧14的一端抵在转动块17的一侧的,可根据情况选择弹簧14的安装和使用。
[0025]水流一部分的动能转化为叶轮8的机械能,一部分动能转化为藕的动能,当水流冲击在藕上的时候,藕会向下移动,此时弹簧14的弹性势能增加,当水流冲击变小后,弹簧14的势能转化为承载板20 动能,使得承载板20在安装杆15上滑动,从而使得藕可以和清洁丝 16产生径向的摩擦,提高清洗效果。
[0026]以上所述,仅为本发明较佳的具体实施方式,但本发明的保护范围并不局限于此,任何熟悉本技术领域的技术人员在本发明揭露的技术范围内,根据本发明的技术方案及其发明构思加以等同替换或改变,都应涵盖在本发明的保护范围之内。

