详情
摘要
本发明公开了一种农业生产用无伤移苗装置,包括支撑盒体,所述支撑盒体的两侧外壁均设置有第一通孔,所述支撑盒体的顶部中央外壁通过螺栓连接有步进电机,且步进电机的输出轴通过螺栓连接有转动轴,所述转动轴的另一端外壁通过轴承与支撑盒体的底部中央内壁连接,所述转动轴的圆周外壁通过螺栓套接有转动齿轮,且转动齿轮的圆周两端外壁均设置有支撑杆。本发明提出的一种农业生产用无伤移苗装置,通过设置有步进电机、转动齿轮和支撑杆,由步进电机带动转动齿轮转动,并由转动齿轮带动两个支撑杆进行来回伸缩移动,进而带动了中空半环转动,进而通过第一半环进行掘土,实现了非常有效的掘土的效果。
权利要求书
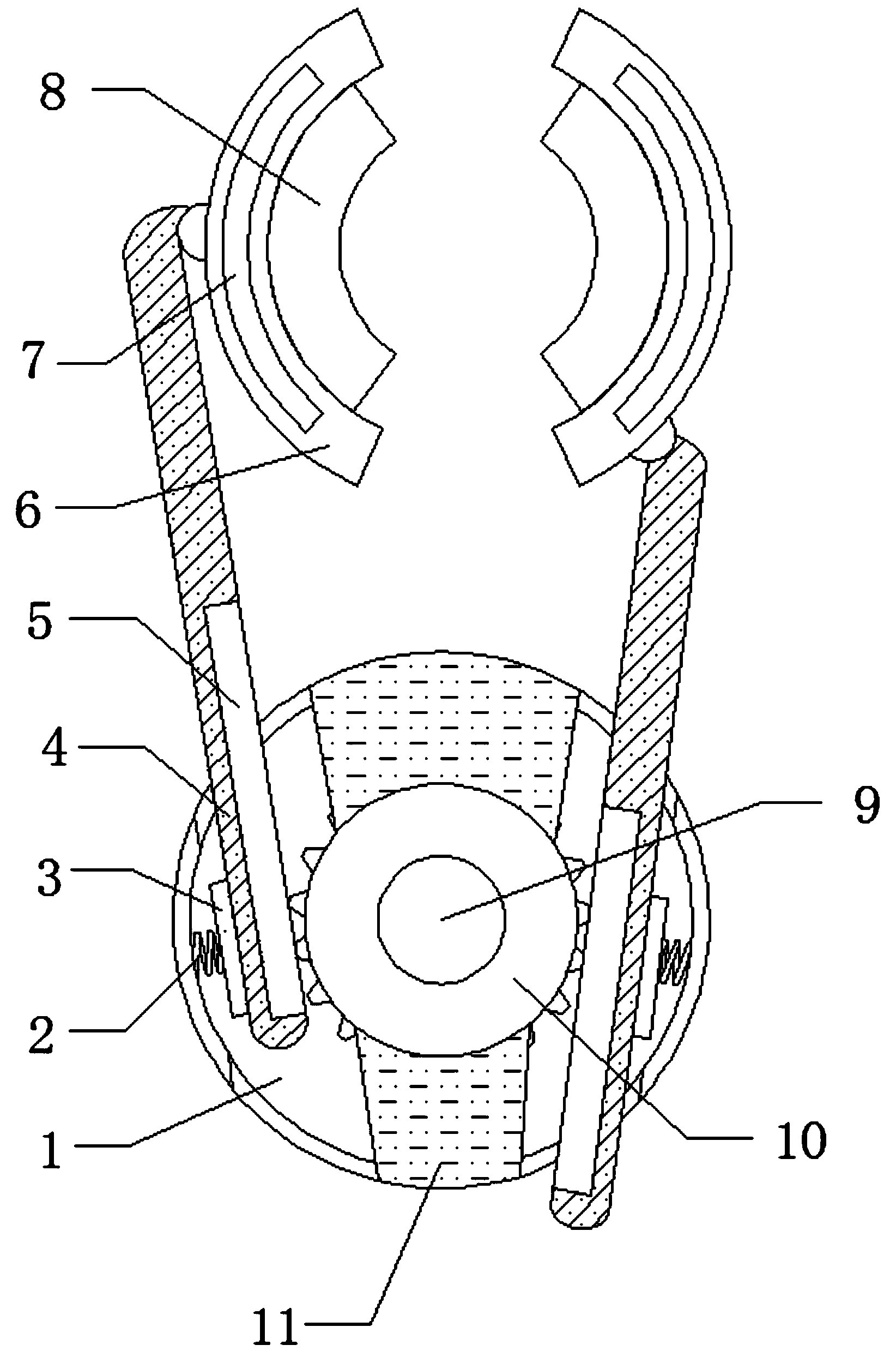
1.一种农业生产用无伤移苗装置,包括支撑盒体(11),其特征在于,所述支撑盒体(11)的两侧外壁均设置有第一通孔(1),所述支撑盒体(11)的顶部中央外壁通过螺栓连接有步进电机(20),且步进电机(20)的输出轴通过螺栓连接有转动轴(9),所述转动轴(9)的另一端外壁通过轴承与支撑盒体(11)的底部中央内壁连接,所述转动轴(9)的圆周外壁通过螺栓套接有转动齿轮(10),且转动齿轮(10)的圆周两端外壁均设置有支撑杆(4),两个所述支撑杆(4)分别位于两个第一通孔(1)的内部,两个所述支撑杆(4)的相邻一侧外壁均设置有卡槽(5),且两个卡槽(5)分别与转动齿轮(10)的圆周两侧外壁连接,所述支撑盒体(11)的两侧中部内壁均通过螺栓连接有水平设置的弹簧(2),且两个弹簧(2)的相邻一端外壁均通过螺栓连接有支撑板(3),两个所述支撑板(3)的相邻一侧外壁分别与两个支撑杆(4)的相互远离一侧外壁滑动连接,两个所述支撑杆(3)的另一端外壁均通过铰链连接有中空半环(6),两个所述中空半环(6)的环口内壁均设置有滑动槽,且两个滑动槽的内壁均滑动连接有第二半环(8),两个所述中空半环(6)的顶部两侧内壁均通过螺栓连接有竖直设置的电动伸缩杆(15),且相邻两个电动伸缩杆(15)的底部外壁均通过螺栓连接有第一半环(7),两个所述第一半环(7)的外壁分别与两个中空半环(6)的内壁滑动连接,两个中空半环(6)的底部外壁均设置有第一开口,两个所述第一半环(7)的底部外壁均通过螺栓连接有等距离竖直设置的凸齿(13),两个所述第二半环(8)的底部外壁均通过螺栓连接有等距离竖直设置的固定插柱(12)。
2.根据权利要求1所述的一种农业生产用无伤移苗装置,其特征在于,所述支撑盒体(11)的顶部中央外壁通过螺栓连接有环形蓄水箱(19)。
3.根据权利要求2所述的一种农业生产用无伤移苗装置,其特征在于,所述环形蓄水箱(19)的顶部一侧外壁通过螺栓连接有竖直设置的进水管,且进水管的圆周顶部外壁通过螺纹连接有进水管盖(18)。
4.根据权利要求3所述的一种农业生产用无伤移苗装置,其特征在于,所述环形蓄水箱(19)的一端底部外壁通过螺栓连接有三通阀(17),且三通阀(17)的进水端一侧通过螺栓连接有抽水泵(21)。
5.根据权利要求4所述的一种农业生产用无伤移苗装置,其特征在于,所述三通阀(17)的另外两个出水端均通过螺栓连接有导水软管(16),且两个导水软管(16)的另一端外壁分别与两个中空半环(6)的相邻一侧外壁连接。
6.根据权利要求5所述的一种农业生产用无伤移苗装置,其特征在于,两个所述中空半环(6)的底部两侧外壁均通过螺栓连接有导水管(14)。
7.根据权利要求6所述的一种农业生产用无伤移苗装置,其特征在于,所述步进电机(20)、抽水泵(21)和电动伸缩杆(15)均通过导线连接有开关,且开关通过导线连接有蓄电池。
说明书
一种农业生产用无伤移苗装置
技术领域
[0001]本发明涉及农业生产技术领域,尤其涉及一种农业生产用无伤移苗装置。
背景技术
[0002]果树植株的培育过程十分重要,其直接影响到产量,果树植株的幼苗移栽是林业种植过程中常见的作业,而林业是农业的重要组成部分,通过移苗可以为幼苗的生长创造良好的环境和充足的空间,促进幼苗的须根生长,提高作物的产量。
[0003]目前,果树植株移苗的过程中会用到一种植株的移苗装置,现有的移苗装置在对植株进行移苗的过程中,容易在掘土时对幼苗造成损伤,进而会降低幼苗的存活率,导致农产品的产量下降,因此需要设计一种新型的农业生产用无伤移苗装置来解决上述问题。
发明内容
[0004]本发明的目的是为了解决现有技术中存在的缺点,而提出的一种农业生产用无伤移苗装置。
[0005]为了实现上述目的,本发明采用了如下技术方案:一种农业生产用无伤移苗装置,包括支撑盒体,所述支撑盒体的两侧外壁均设置有第一通孔,所述支撑盒体的顶部中央外壁通过螺栓连接有步进电机,且步进电机的输出轴通过螺栓连接有转动轴,所述转动轴的另一端外壁通过轴承与支撑盒体的底部中央内壁连接,所述转动轴的圆周外壁通过螺栓套接有转动齿轮,且转动齿轮的圆周两端外壁均设置有支撑杆,两个所述支撑杆分别位于两个第一通孔的内部,两个所述支撑杆的相邻一侧外壁均设置有卡槽,且两个卡槽分别与转动齿轮的圆周两侧外壁连接,所述支撑盒体的两侧中部内壁均通过螺栓连接有水平设置的弹簧,且两个弹簧的相邻一端外壁均通过螺栓连接有支撑板,两个所述支撑板的相邻一侧外壁分别与两个支撑杆的相互远离一侧外壁滑动连接,两个所述支撑杆的另一端外壁均通过铰链连接有中空半环,两个所述中空半环的环口内壁均设置有滑动槽,且两个滑动槽的内壁均滑动连接有第二半环,两个所述中空半环的顶部两侧内壁均通过螺栓连接有竖直设置的电动伸缩杆,且相邻两个电动伸缩杆的底部外壁均通过螺栓连接有第一半环,两个所述第一半环的外壁分别与两个中空半环的内壁滑动连接,两个中空半环的底部外壁均设置有第一开口,两个所述第一半环的底部外壁均通过螺栓连接有等距离竖直设置的凸齿,两个所述第二半环的底部外壁均通过螺栓连接有等距离竖直设置的固定插柱。
[0006]优选的,所述支撑盒体的顶部中央外壁通过螺栓连接有环形蓄水箱。
[0007]优选的,所述环形蓄水箱的顶部一侧外壁通过螺栓连接有竖直设置的进水管,且进水管的圆周顶部外壁通过螺纹连接有进水管盖。
[0008]优选的,所述环形蓄水箱的一端底部外壁通过螺栓连接有三通阀,且三通阀的进水端一侧通过螺栓连接有抽水泵。
[0009]优选的,所述三通阀的另外两个出水端均通过螺栓连接有导水软管,且两个导水软管的另一端外壁分别与两个中空半环的相邻一侧外壁连接。
[0010]优选的,两个所述中空半环的底部两侧外壁均通过螺栓连接有导水管。
[0011]优选的,所述步进电机、抽水泵和电动伸缩杆均通过导线连接有开关,且开关通过导线连接有蓄电池。
[0012]本发明的有益效果为:1、本发明提出的一种农业生产用无伤移苗装置,通过设置有步进电机、转动齿轮和支撑杆,由步进电机带动转动齿轮转动,并由转动齿轮带动两个支撑杆进行来回伸缩移动,进而带动了中空半环转动,进而通过第一半环进行掘土,实现了非常有效的掘土的效果。
[0013]2、本发明提出的一种农业生产用无伤移苗装置,通过设置有第二半环,并在两个第二半环的底部设置有固定插柱,在进行掘土操作前,可以将两个第二半环插在树苗的周围,并固定,避免掘土过程中对树苗造成损伤,达到了非常有效的保护树苗的效果,实现无伤移秒的效果。
[0014]3、本发明提出的一种农业生产用无伤移苗装置,通过设置有环形蓄水箱,并在环形蓄水箱上设置有三通阀,由抽水泵和导水软管通过三通管将环形蓄水箱内的水抽入中空半环内,在掘土的过程中,可以对土壤加湿,提高土壤的松弛度,结合第一半环底部凸齿的设置,显著的提高了掘土的效果。

附图说明
[0015]图1为本发明提出的一种农业生产用无伤移苗装置的俯视剖面结构示意图;图2为本发明提出的一种农业生产用无伤移苗装置的中空半环侧面结构示意图;图3为本发明提出的一种农业生产用无伤移苗装置的中空半环剖面结构示意图;图4为本发明提出的一种农业生产用无伤移苗装置的俯视结构示意图。
[0016]图中:1第一通孔、2弹簧、3支撑板、4支撑杆、5卡槽、6中空半环、7第一半环、8第二半环、9转动轴、10转动齿轮、11支撑盒体、12固定插柱、13凸齿、14导水管、15电动伸缩杆、16导水软管、17三通阀、18进水管盖、19环形蓄水箱、20步进电机、21抽水泵。
具体实施方式
[0017]下面将结合本发明实施例中的附图,对本发明实施例中的技术方案进行清楚、完整地描述,显然,所描述的实施例仅仅是本发明一部分实施例,而不是全部的实施例。
[0018]参照图1-4,一种农业生产用无伤移苗装置,包括支撑盒体11,支撑盒体11的两侧外壁均设置有第一通孔1,支撑盒体11的顶部中央外壁通过螺栓连接有步进电机20,且步进电机20的输出轴通过螺栓连接有转动轴9,转动轴9的另一端外壁通过轴承与支撑盒体11的底部中央内壁连接,转动轴9的圆周外壁通过螺栓套接有转动齿轮10,且转动齿轮10的圆周两端外壁均设置有支撑杆4,两个支撑杆4分别位于两个第一通孔1的内部,两个支撑杆4的相邻一侧外壁均设置有卡槽5,且两个卡槽5分别与转动齿轮10的圆周两侧外壁连接,支撑盒体11的两侧中部内壁均通过螺栓连接有水平设置的弹簧2,且两个弹簧2的相邻一端外壁均通过螺栓连接有支撑板3,两个支撑板3的相邻一侧外壁分别与两个支撑杆4的相互远离一侧外壁滑动连接,两个支撑杆3的另一端外壁均通过铰链连接有中空半环6,两个中空半环6的环口内壁均设置有滑动槽,且两个滑动槽的内壁均滑动连接有第二半环8,两个中空半环6的顶部两侧内壁均通过螺栓连接有竖直设置的电动伸缩杆15,且相邻两个电动伸缩杆15的底部外壁均通过螺栓连接有第一半环7,由步进电机20带动转动齿轮10转动,并由转动齿轮10带动两个支撑杆4进行来回伸缩移动,进而带动了中空半环6转动,进而通过第一半环7进行掘土,实现了非常有效的掘土的效果,两个第一半环7的外壁分别与两个中空半环6的内壁滑动连接,两个中空半环6的底部外壁均设置有第一开口,两个第一半环7的底部外壁均通过螺栓连接有等距离竖直设置的凸齿13,凸齿13的设置,进一步的提高了掘土的效果,两个第二半环8的底部外壁均通过螺栓连接有等距离竖直设置的固定插柱12。
[0019]本发明中,支撑盒体11的顶部中央外壁通过螺栓连接有环形蓄水箱19,环形蓄水箱19的顶部一侧外壁通过螺栓连接有竖直设置的进水管,且进水管的圆周顶部外壁通过螺纹连接有进水管盖18,环形蓄水箱19的一端底部外壁通过螺栓连接有三通阀17,且三通阀17的进水端一侧通过螺栓连接有抽水泵21,三通阀17的另外两个出水端均通过螺栓连接有导水软管16,且两个导水软管16的另一端外壁分别与两个中空半环6的相邻一侧外壁连接,两个中空半环6的底部两侧外壁均通过螺栓连接有导水管14,步进电机20、抽水泵21和电动伸缩杆15均通过导线连接有开关,且开关通过导线连接有蓄电池。
[0020]工作原理:使用时,使用者首先需要将两个第二半环8放在树苗的外围,由固定插柱12将第二半环8固定在树苗周围的土壤上,避免掘土过程中对树苗造成损伤,接着将支撑盒体11固定,然后启动步进电机20、电动伸缩杆15和抽水泵21,由步进电机20带动转动齿轮10转动,并由转动齿轮10带动两个支撑杆4进行来回伸缩移动,进而带动了中空半环6转动,中空半环6的转动带动了第一半环7转动,通过第一半环7进行掘土,在掘土的过程中,由抽水泵21和导水软管16通过三通管17将环形蓄水箱19内的水抽入中空半环6内,可以对土壤加湿,提高土壤的松弛度,进而提高了掘土的效果,掘土完成后,直接拔起装置,带出树苗,实现非常安全无伤的移植效果。
[0021]以上所述,仅为本发明较佳的具体实施方式,但本发明的保护范围并不局限于此,任何熟悉本技术领域的技术人员在本发明揭露的技术范围内,根据本发明的技术方案及其发明构思加以等同替换或改变,都应涵盖在本发明的保护范围之内。

