详情
一种农艺师用实验种子防潮存储箱
技术领域
[0001]本实用新型涉及一种储存箱,具体是一种农艺师用实验种子防潮存储箱。
背景技术
[0002]农艺师是农业系统职称的一个级别,是指在农业方面的技术掌握者,能够促进农业的发展的人,农艺师主要从事作物、园艺、中草药、蚕桑、食用菌等的良种选育、引进、繁殖、栽培、耕作改制、生长调节剂、土壤调查、土壤肥料测试、土壤改良与利用、肥料利用及新型肥料研制与开发、土地利用规划与管理、土壤环保、病虫草鼠等有害生物预测预报和防治、植物检疫、农药质量及残留量检测、农药与植保机械的开发与应用、农业环境质量检测、管理与保护、蚕茧收烘、农产品质量检测、农产品贮藏保鲜与加工及相关专业的规划、设计、技术研究与推广和科技管理与教育、服务体系建设、农业法制建设、农业产业化经营等专业的技术工作。
[0003]农艺师在进行农业栽培试验时,通常需要使用防潮箱对实验种子进行储存,以避免种子霉变或发芽,现有的防潮箱在使用时,虽然能将外界干燥空气导入箱内,以带走箱内的潮湿空气,但无法对箱内储存的种子进行翻动,使得种堆中仍残留大量的水分,有待改进。
实用新型内容
[0004]本实用新型的目的在于提供一种农艺师用实验种子防潮存储箱,以解决上述背景技术中提出的问题。
[0005]为实现上述目的,本实用新型提供如下技术方案:
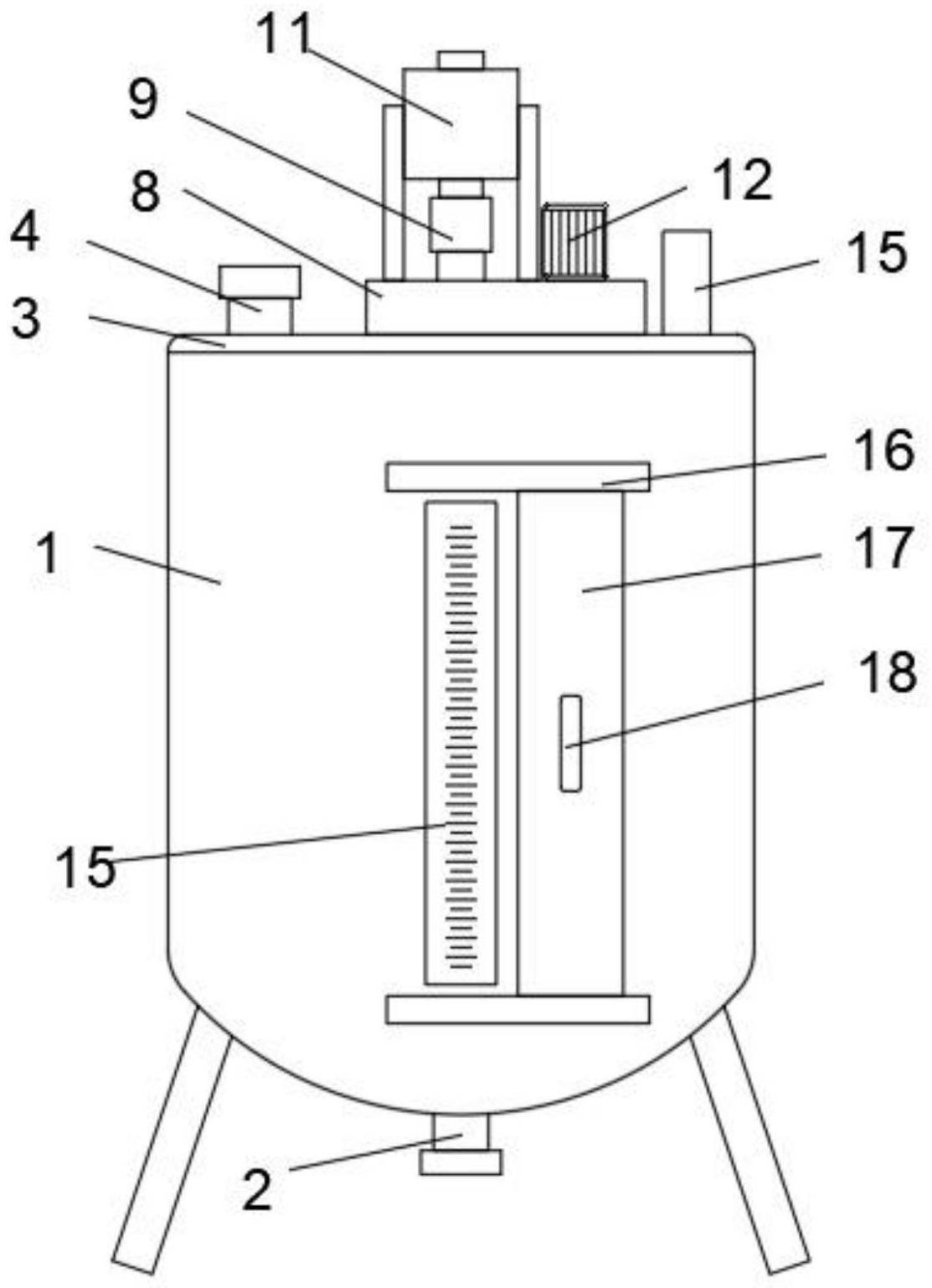
[0006]一种农艺师用实验种子防潮存储箱,包括箱体,所述箱体的底部贯穿设置有出料管,所述箱体的顶部固定连接有顶盖,所述顶盖的顶部贯穿设置有注料管、观察窗,所述顶盖的顶部贯穿设置有通气管,所述顶盖的顶部固定连接有防护盖,所述通气管的顶端贯穿防护盖,所述通气管与顶盖、防护盖转动连接,所述防护盖的顶部通过支架固定连接有鼓风机,所述鼓风机的出气管通过旋转接头与通气管的顶端转动连接,所述防护盖的顶部固定连接有减速电机,所述通气管和减速电机传动连接,所述通气管的外壁均匀贯穿设置有多个分流管,所述分流管的表面贯穿设置有出气孔。
[0007]作为本实用新型进一步的方案:所述鼓风机的出气管内壁固定连接有电热丝。
[0008]作为本实用新型进一步的方案:所述减速电机的输出轴贯穿防护盖的顶部后固定连接有第一链轮,所述通气管的外壁固定套接有第二链轮,所述第一链轮、第二链轮通过链条传动连接。
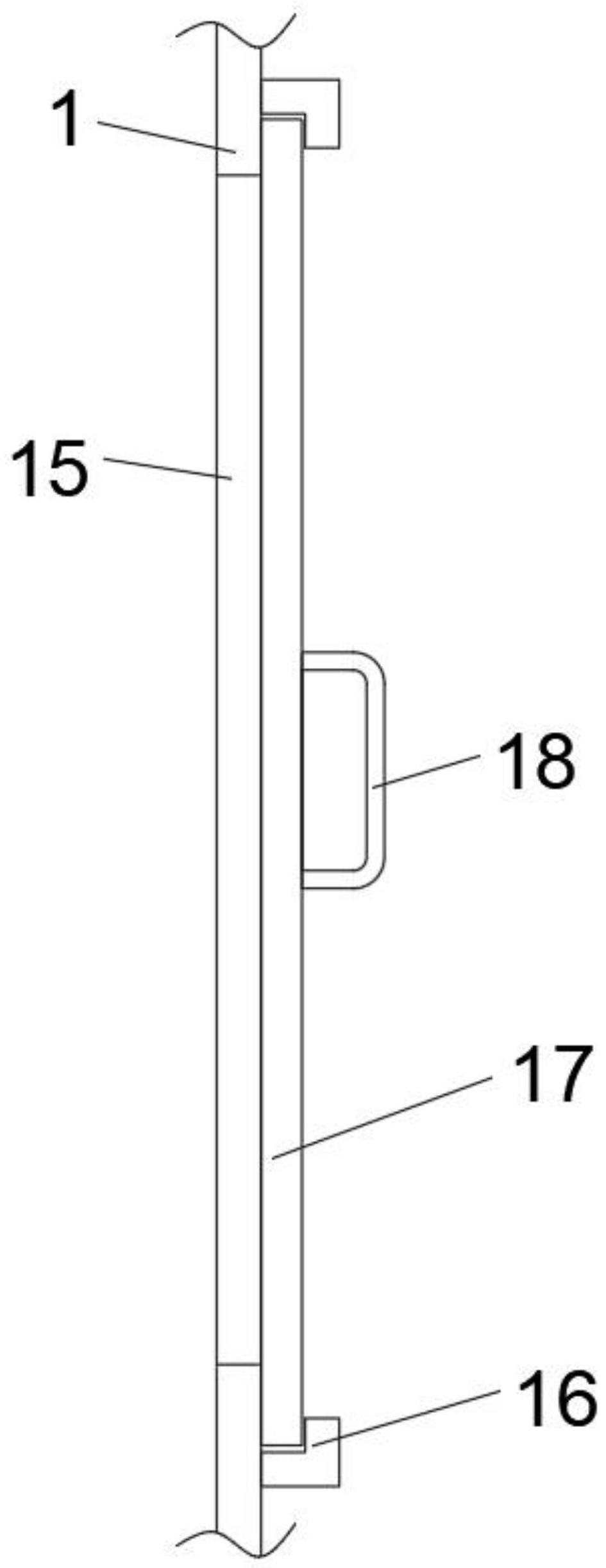
[0009]作为本实用新型进一步的方案:所述箱体的前壁设置有观察窗。
[0010]作为本实用新型进一步的方案:所述箱体的前壁位于观察窗的上下两侧均固定连接有L型槽,两个所述L型槽之间设置有遮光板,所述遮光板的两端位于对应的L型槽的内侧,所述遮光板的外壁固定连接有把手。
[0011]作为本实用新型再进一步的方案:所述遮光板的尺寸大于观察窗的尺寸。
[0012]与现有技术相比,本实用新型的有益效果是:
[0013]1、本实用新型在使用时,启动鼓风机及减速电机后,减速电机利用第一链轮与第二链轮的传动连接驱动通气管及分流管在箱体内转动,从而利用分流管对箱体内的种子进行翻搅,鼓风机将气体由旋转接头通入通气管内,并由分流管上的出气孔排出,以使外界干燥空气在种子间均匀的分布,能够有效的降低种堆中水分的残留,使用效果好。
[0014]2、本实用新型通过在鼓风机的出气管内设置电热丝,能够对通入箱体内的空气进行加热,以提升箱体内的温度,整块箱体内水分的蒸发速度,从而起到了加速潮气排出的效果。
[0015]3、本实用新型通过观察窗的设置,便于观察箱体内种子的状态及数量,通过L型槽及遮光板的设置,能够在箱体的外侧对遮光板进行滑动,从而在不使用观察窗时,利用遮光板对观察窗进行遮挡,以避免光线通过观察窗照射至箱体内。
附图说明
[0016]图1为一种农艺师用实验种子防潮存储箱的结构示意图。
[0017]图2为一种农艺师用实验种子防潮存储箱的内部结构示意图。
[0018]图3为图2中A处的放大图。
[0019]图4为一种农艺师用实验种子防潮存储箱中L型槽的结构示意图。
[0020]其中,箱体1、出料管2、顶盖3、注料管4、通气管5、分流管6、出气孔7、防护盖8、旋转接头9、支架10、鼓风机11、减速电机12、第一链轮13、第二链轮14、观察窗15、L型槽16、遮光板17、把手18。
具体实施方式
[0021]下面将结合本实用新型实施例中的附图,对本实用新型实施例中的技术方案进行清楚、完整地描述,显然,所描述的实施例仅仅是本实用新型一部分实施例,而不是全部的实施例。基于本实用新型中的实施例,本领域普通技术人员在没有做出创造性劳动前提下所获得的所有其他实施例,都属于本实用新型保护的范围。
[0022]请参阅图1~4,本实用新型实施例中,一种农艺师用实验种子防潮存储箱,包括箱体1,所述箱体1的底部贯穿设置有出料管2,所述箱体1的顶部固定连接有顶盖3,所述顶盖3的顶部贯穿设置有注料管4、观察窗15,所述顶盖3的顶部贯穿设置有通气管5,所述顶盖3的顶部固定连接有防护盖8,所述通气管5的顶端贯穿防护盖8,所述通气管5与顶盖3、防护盖8转动连接,所述防护盖8的顶部通过支架10固定连接有鼓风机11,所述鼓风机11的出气管通过旋转接头9与通气管5的顶端转动连接,所述防护盖8的顶部固定连接有减速电机12,所述通气管5和减速电机12传动连接,所述通气管5的外壁均匀贯穿设置有多个分流管6,所述分流管6的表面贯穿设置有出气孔7。
[0023]所述鼓风机11的出气管内壁固定连接有电热丝。
[0024]通过在鼓风机11的出气管内设置电热丝,能够对通入箱体1内的空气进行加热,以提升箱体1内的温度,整块箱体1内水分的蒸发速度,从而起到了加速潮气排出的效果。
[0025]所述减速电机12的输出轴贯穿防护盖8的顶部后固定连接有第一链轮13,所述通气管5的外壁固定套接有第二链轮14,所述第一链轮13、第二链轮14通过链条传动连接。
[0026]启动减速电机12,即可利用第一链轮13与第二链轮14的传动连接驱动通气管5及分流管6在箱体1内转动,从而利用分流管6对箱体1内的种子进行翻搅。
[0027]所述箱体1的前壁设置有观察窗15。
[0028]通过观察窗15的设置,便于观察箱体1内种子的状态及数量。
[0029]所述箱体1的前壁位于观察窗15的上下两侧均固定连接有L型槽16,两个所述L型槽16之间设置有遮光板17,所述遮光板17的两端位于对应的L型槽16的内侧,所述遮光板17的外壁固定连接有把手18。
[0030]通过L型槽16及遮光板17的设置,能够在箱体1的外侧对遮光板17进行滑动,从而在不使用观察窗15时,利用遮光板17对观察窗15进行遮挡,以避免光线通过观察窗15照射至箱体1内。
[0031]所述遮光板17的尺寸大于观察窗15的尺寸。
[0032]本实用新型的工作原理是:
[0033]本实用新型在使用时,启动鼓风机11及减速电机12后,减速电机12利用第一链轮13与第二链轮14的传动连接驱动通气管5及分流管6在箱体1内转动,从而利用分流管6对箱体1内的种子进行翻搅,鼓风机11将气体由旋转接头9通入通气管5内,并由分流管6上的出气孔7排出,以使外界干燥空气在种子间均匀的分布,能够有效的降低种堆中水分的残留,使用效果好。
[0034]本实用新型通过在鼓风机11的出气管内设置电热丝,能够对通入箱体1内的空气进行加热,以提升箱体1内的温度,整块箱体1内水分的蒸发速度,从而起到了加速潮气排出的效果。
[0035]本实用新型通过观察窗15的设置,便于观察箱体1内种子的状态及数量,通过L型槽16及遮光板17的设置,能够在箱体1的外侧对遮光板17进行滑动,从而在不使用观察窗15时,利用遮光板17对观察窗15进行遮挡,以避免光线通过观察窗15照射至箱体1内。
[0036]尽管参照前述实施例对本实用新型进行了详细的说明,对于本领域的技术人员来说,其依然可以对前述各实施例所记载的技术方案进行修改,或者对其中部分技术特征进行等同替换,凡在本实用新型的精神和原则之内,所作的任何修改、等同替换、改进等,均应包含在本实用新型的保护范围之内。
权利要求
1.一种农艺师用实验种子防潮存储箱,其特征在于:包括箱体(1),所述箱体(1)的底部贯穿设置有出料管(2),所述箱体(1)的顶部固定连接有顶盖(3),所述顶盖(3)的顶部贯穿设置有注料管(4)、观察窗(15),所述顶盖(3)的顶部贯穿设置有通气管(5),所述顶盖(3)的顶部固定连接有防护盖(8),所述通气管(5)的顶端贯穿防护盖(8),所述通气管(5)与顶盖(3)、防护盖(8)转动连接,所述防护盖(8)的顶部通过支架(10)固定连接有鼓风机(11),所述鼓风机(11)的出气管通过旋转接头(9)与通气管(5)的顶端转动连接,所述防护盖(8)的顶部固定连接有减速电机(12),所述通气管(5)和减速电机(12)传动连接,所述通气管(5)的外壁均匀贯穿设置有多个分流管(6),所述分流管(6)的表面贯穿设置有出气孔(7)。
2.根据权利要求1所述的一种农艺师用实验种子防潮存储箱,其特征在于:所述鼓风机(11)的出气管内壁固定连接有电热丝。
3.根据权利要求1所述的一种农艺师用实验种子防潮存储箱,其特征在于:所述减速电机(12)的输出轴贯穿防护盖(8)的顶部后固定连接有第一链轮(13),所述通气管(5)的外壁固定套接有第二链轮(14),所述第一链轮(13)、第二链轮(14)通过链条传动连接。
4.根据权利要求1所述的一种农艺师用实验种子防潮存储箱,其特征在于:所述箱体(1)的前壁设置有观察窗(15)。
5.根据权利要求4所述的一种农艺师用实验种子防潮存储箱,其特征在于:所述箱体(1)的前壁位于观察窗(15)的上下两侧均固定连接有L型槽(16),两个所述L型槽(16)之间设置有遮光板(17),所述遮光板(17)的两端位于对应的L型槽(16)的内侧,所述遮光板(17)的外壁固定连接有把手(18)。
6.根据权利要求5所述的一种农艺师用实验种子防潮存储箱,其特征在于:所述遮光板(17)的尺寸大于观察窗(15)的尺寸。




